| 章节 | 标题 | 页码 |
|---|---|---|
| 一 | 工程概况 | 1 |
| 1.1 | 工程简介 | 1 |
| 1.2 | 参建单位 | 3 |
| 二 | 编制依据 | 3 |
| 三 | 监理工作流程 | 4 |
| 四 | 路基工程监理控制要点及目标值 | 8 |
| 4.1 | 施工前期的质量控制 | 8 |
| 4.2 | 路基土石方质量控制 | 8 |
| 4.2.1 | 便道便桥修筑及维护 | 8 |
| 4.2.2 | 路线放样质量控制 | 9 |
| 4.2.3 | 河塘清淤回填 | 10 |
| 4.2.4 | 场地清理 | 10 |
| 4.2.5 | 填前碾压 | 10 |
| 4.2.6 | 路基挖方 | 10 |
| 4.2.7 | 路基填方 | 12 |
| 4.3 | 台背回填 | 15 |
| 4.4 | 路基整修 | 16 |
| 4.5 | 雨季施工的监理 | 16 |
| 五 | 路面工程监理控制要点及目标值 | 17 |
| 5.1 | 路床(新建) | 17 |
| 5.1.1 | 施工要求: | 17 |
| 5.1.2 | 质量检验标准: | 17 |
| 5.2 | 填隙碎石底基层(新建) | 18 |
| 5.2.1 | 原材料要求 | 18 |
| 5.2.2 | 施工监控要点 | 18 |
| 5.2.3 | 质量要求 | 19 |
| 5.2.4 | 允许偏差值 | 19 |
| 5.3 | 水泥稳定碎石层 | 19 |
| 5.4 | 封层 | 20 |
| 5.5 | 热拌沥青混合料面层 | 22 |
| 5.5.1 | 道路石油沥青技术要求 | 22 |
| 5.5.2 | 聚合物改性沥青技术要求 | 23 |
| 5.5.3 | 沥青混合料用细集料质量要求 | 23 |
| 5.5.4 | 沥青混合料用粗集料质量要求 | 24 |
| 5.5.5 | 热拌沥青混凝土的矿粉质量要求 | 24 |
| 5.5.6 | 热拌密级配沥青混凝土混合料马歇尔试验技术要求 | 24 |
| 5.5.7 | 热拌沥青混合料的施工温度 | 25 |
| 5.5.8 | 聚合物改性沥青混合料的施工温度 | 25 |
| 5.5.9 | 外观质量要求 | 25 |
| 六 | 防护工程监理控制要点及目标值 | 26 |
| 6.1 | 施工准备阶段的监理 | 26 |
| 6.2 | 施工阶段的监理 | 27 |
| 七 | 人行道工程监理控制要点及目标值 | 28 |
| 7.1 | 土基 | 28 |
| 7.2 | 混凝土垫层 | 28 |
| 7.3 | 砂浆找平层 | 28 |
| 7.4 | 预制板铺面 | 29 |
| 7.5 | 街坊道口 | 29 |
| 7.6 | 无障碍设施 | 30 |
| 7.7 | 路缘石 | 30 |
| 7.8 | 树池 | 31 |
| 八 | 排水工程监理控制要点及目标值 | 31 |
| 8.1 | 沟槽开挖 | 31 |
| 8.2 | 管道砂砾垫层 | 31 |
| 8.3 | 管道安装 | 32 |
| 8.4 | 检查井 | 32 |
| 8.5 | 雨水口及连接支管 | 33 |
| 8.6 | 沟槽回填 | 33 |
| 九 | 照明工程监理控制要点及目标值 | 33 |
| 9.1 | 灯杆、灯具安装 | 33 |
| 9.2 | 线路敷设 | 35 |
| 9.3 | 变配电安装 | 37 |
| 9.4 | 控制系统 | 40 |
| 9.5 | 安全保护 | 40 |
| 十 | 交通工程监理控制要点及目标值 | 42 |
| 10.1 | 施工要求 | 42 |
| 10.2 | 交通标志 | 42 |
| 10.2.1 | 质量要求 | 43 |
| 10.2.2 | 质量控制要点 | 43 |
| 10.3 | 交通标线 | 43 |
| 10.3.1 | 质量要求 | 43 |
| 10.3.2 | 质量控制要点 | 43 |
| 10.4 | 突起路标 | 44 |
| 10.4.1 | 质量要求 | 44 |
| 10.4.2 | 质量控制要点 | 44 |
| 10.5 | 轮廓标(包括附着式轮廓标与柱式轮廓标) | 44 |
| 10.5.1 | 质量要求 | 44 |
| 10.6 | 防眩板 | 45 |
| 10.6.1 | 质量要求 | 45 |
| 10.6.2 | 质量控制要点 | 45 |
| 十一 | 箱涵工程监理控制要点及目标值 | 45 |
| 11.1 | 准备阶段 | 45 |
| 11.1.1 | 技术准备 | 45 |
| 11.1.2 | 人员、机械设备进场 | 46 |
| 11.1.3 | 现场准备 | 46 |
| 11.1.4 | 材料准备 | 46 |
| 11.2 | 施工阶段 | 46 |
| 11.2.1 | 测量放样 | 46 |
| 11.2.2 | 开挖要求 | 47 |
| 11.2.3 | 坑壁支撑及基坑排水 | 48 |
| 11.2.4 | 防坍塌控制 | 48 |
| 11.2.5 | 坑壁支护 | 48 |
| 11.2.6 | 临边支护 | 49 |
| 11.2.7 | 坑边荷载 | 49 |
| 11.2.8 | 基坑支护变形监测 | 49 |
| 11.3 | 工艺要求 | 49 |
| 11.3.1 | 通道基础 | 49 |
| 11.3.2 | 钢筋工艺 | 50 |
| 11.3.3 | 模板工艺 | 51 |
| 11.3.4 | 混凝土浇筑 | 52 |
| 11.3.5 | 附属工程 | 52 |
| 11.4 | 检验、验收阶段 | 53 |
| 11.4.1 | 基底检验 | 53 |
| 11.4.2 | 基底承载力检测 | 53 |
| 11.4.3 | 钢筋验收 | 53 |
| 11.4.4 | 质量检验 | 53 |
| 十二 | 监理工作方法及措施 | 54 |
| 12.1 | 质量控制的方法及措施 | 54 |
| 12.1.1 | 质量控制方法 | 54 |
| 12.1.2 | 质量控制措施 | 59 |
| 12.2 | 进度控制的方法及措施 | 60 |
| 12.2.1 | 进度控制方法 | 60 |
| 12.2.2 | 进度控制措施 | 62 |
| 12.3 | 投资控制的方法及措施 | 63 |
| 12.3.1 | 投资控制的方法 | 63 |
| 12.3.2 | 投资控制措施 | 64 |
| 12.4 | 合同管理的方法及措施 | 66 |
| 12.4.1 | 合同分析 | 66 |
| 12.4.2 | 合同跟踪 | 66 |
| 12.4.3 | 监控措施 | 68 |
| 12.5 | 文明施工与安全的方法及措施 | 68 |
| 12.5.1 | 加强管理建立健全管理体系 | 68 |
| 12.5.2 | 严格落实文明施工各项内容及措施 | 69 |
| 12.5.3 | 严格落实安全管理各项措施 | 69 |
| 12.6 | 监理旁站内容和要求 | 70 |
| 12.6.1 | 旁站工序 | 70 |
| 12.6.2 | 旁站要求 | 70 |
| 十三 | 其他事宜 | 70 |
(1)九堡中路
九堡中路道路为东西走向,西起于黄柏路,东至沙洲坝路,道路全长613.177m(桩号K0+260至K0+580段)。
九堡中路道路全长约613.177m,宽24m,道路等级为次干路,设计行车速度30km/h,主要设计内容包括:道路工程、交通工程、排水工程、电力工程、绿化工程等。
(2)规划一路
规划一路道路为南北走向,北起于现状乡道,南至长征大道,道路全长522.844m(桩号K0+360至终点段东侧为在建厂区)。
九堡中路道路全长约522.844m,宽24m,道路等级为次干路,设计行车速度30km/h,主要设计内容包括:道路工程、交通工程、排水工程、电力工程、绿化工程等。
(3)泽覃路和323国道连接线
1)323国道连接线
323国道道路为南北走向,南起于323国道(现状道路),北至泽覃路,道路全长329.458m(桩号K0+00至K0+329.458段)。
323国道连接线道路长约329.458m,宽16m,道路等级为支路,设计行车速度20km/h。主要设计内容包括:道路工程、交通工程、排水工程、桥涵工程、电力工程、绿化工程等。
2)泽谭路
泽覃路为东西走向,西起于323国道连接线,东至万田路,道路全长1608.41m(桩号K0+329.458至K1+937.868段)。
泽覃路道路长约1608.41m,宽24m,道路等级为次干路,设计行车速度30km/h。主要设计内容包括:道路工程、交通工程、排水工程、桥涵工程、电力工程、绿化工程等。
1.2参建单位
设计单位:某某市设计院有限公司
勘察单位:某某勘测工程有限公司
建设单位:某某工业投资发展有限公司
施工单位:某某建工集团有限责任公司
监理单位:某某成建工程监理有限公司
(一)合同文件
施工承包合同及相关补充协议;
工程监理委托合同及相关技术服务协议;
各专项工程合同及其履约情况。
(二)设计文件与技术资料
经施工图审查机构审查合格的施工图纸、说明文件及设计变更通知;
地质勘察报告及地下水文资料等基础技术资料;
图纸会审纪要及设计交底记录。
(三)国家及行业规范标准
本工程严格遵循现行国家及行业有关工程建设的技术标准、规范和规程,主要包括但不限于以下标准:
《建设工程监理规范》GB50319;
《建筑工程施工质量验收统一标准》GB50300;
《公路工程施工监理规范》JTGG10;
《公路路基施工技术规范》JTG/T3610;
《公路路面基层施工技术细则》JTG/TF20;
《给水排水管道工程施工及验收规范》GB50268;
《城镇道路工程施工与质量验收规范》CJJ1;
《混凝土质量控制标准》GB50164;
《城市道路工程技术规范》GB51286;
《城市道路路基设计规范》CJJ194;
《工程测量标准》GB50026。

路基工程质量控制工作流程

测量放线质量控制工作流程

材料进场验收质量控制工作流程

每道工序(检验批)验收质量控制工作流程

工程变更签证控制工作流程

1、熟悉设计文件、施工操作规程、质量验评标准、有关合同及协议。
2、参加图纸会审、设计技术交底会。
3、审查承包单位报送的施工组织设计及重点部位、关键工序的施工工艺和确保工程质量的措施。
4、审查施工单位现场项目管理机构的质量管理体系、技术管理体系和质量管理体系。
审查内容包括:
①质量管理、技术管理和质量保证的组织机构;
②质量管理、技术管理制度;
③专职管理人员和特种作业人员的资格证、上岗证。
5、审查施工单位报送的分包单位资格报审表和分包单位有关资格资料。
6、审查承包单位报送的测量放线控制成果及保护措施。
内容包括:
①检查承包单位专职测量人员的岗位证书及测量设备检定证书;
②复核控制桩的校核成果,控制桩的保护措施以及平面控制网、高程控制网和临时水准点的测量成果。
7、审查承包单位报送的拟进场材料、构配件和设备的工程材料/构配件/设备报审表及其质量证明材料。
8、审查承包单位报送的工程开工报审表及相应资料。
4.2路基土石方质量控制
4.2.1便道便桥修筑及维护
1、承包人应将修筑便道、便桥的方案报监理工程师审查。
2、工程施工期间,承包人应配备专人对便道、便桥进行养护,并有环保措施,以保证其正常使用。便道便桥应达到以下标准:
1)便道、便桥畅通,轿车能以60km/h的时速行驶;
2)雨后一天轿车能上路行驶;
3)应配备专用于便道的洒水车经常洒水,防止扬尘;
4)边沟要及时整修,保证排水畅通。
4.2.2路线放样质量控制
1、导线点、水准点交接工作流程
2、路线放样监理工作流程
3、测量专业监理工程师应认真阅读设计文件,了解全线纵坡、弯道、超高、加宽路段的设置情况。
4、审查承包人的测量成果资料,其内容应包括:承包人在开工前进行的导线、中线的复测,水准点的复测与增设,导线点的加密,横断面按设计断面复测。
5、监理工程师核准测量成果后,承包人应按图纸要求,现场设置路基用地界桩和坡脚、路堑堑顶、截水沟、边沟、护坡道、弃土场等的具体位置桩,报现场监理复查。
6、每一压实度分区层顶由测量专业监理工程师对承包人进行的恢复中桩进行核查。
4.2.3河塘清淤回填
1、清淤前现场监理按照图纸要求认真对淤泥顶标高和清淤范围进行复核。
2、承包人按图纸要求完成清淤后,进行河塘的标高测量,按照监理认可的计算方法进行清淤的计算,后监理复核确认。
3、河塘清淤后回填时,必须选用合格的填料进行填筑,在河塘坡上挖成台阶并有足够宽度。填筑时必须分层,碾压一层、自检和抽检一层。在路基边坡处必须超宽填筑,保证河塘范围内碾压到位。必须确保河塘填筑的压实度和稳定性。河塘填筑前必须备有足够数量的、含水量在最佳状态下的填料,以防止天气变化而影响河塘填筑质量及施工进度。
4.2.4场地清理
1、在施工前检查路基用地范围内的树木、灌木丛等是否全部砍伐或移植,砍伐的树木应堆放在路基用地之外,并妥善处理。
2、检查路基用地范围和取土场范围的垃圾、有机物残渣及原地面以下至少100~300mm的草皮、农作物根系和表土清除是否符合要求。
3、检查清理的树根、拆迁建筑物后的残渣或遗留的不适宜材料是否彻底清理出路基用地范围。
4、检查沿线是否有隐蔽的水井、坟坑或洞穴,若有,必须督促承包人认真回填夯实。
4.2.5填前碾压
1、路基填筑前应列表做好路基施工段落划分;场地清理工序完成后,应由监理工程师进行现场检查验收,在验收合格后才能进行填前碾压工序。
2、填前碾压的压实度必须达到设计文件的规定要求。路堤基底原状土的强度不符合要求或深耕地段,应进行换填中砂,换填深度应不小于30cm,并予分层压实。
3、对于填前碾压没有明确规定时,原地面必须压实到无弹簧现象和无明显轮迹(过湿路段另行处理)。
4.2.6路基挖方
1、承包人在深挖路堑(含高边坡)开工前28天,应根据路堑深度、长度、边坡高度、地形、地质、开挖断面、土方调配及弃方等情况,制定详细的施工作业计划报监理批准,否则不得开挖。
2、路基挖方前必须做好截水沟和临时排水设施。路基开挖后,如发现有地下渗水,应加深边沟并及时设置盲沟,将地下水引出路基范围。
3、在整个施工期间,承包人必须始终保持路基排水畅通,监理应督促承包人采取有效措施排除降水、附近地带流入的地面及施工用水,疏导、堵截、隔离对路基有害的地下水。
4、挖方路基有不同土石分层时,承包人就尽可能按土石分类进行开挖,并应将挖出的适用材料与非适用材料严格分开。
5、开挖弃方或不适宜的材料,监理应通知承包人丢弃。弃方不得占用农田,且要做到弃土堆置整齐、稳定、边棱顺直,表面平整,排水畅通,避免对土堆周围的建筑物、排水系统及其它任何设施产生干扰或损坏,避免对环境造成污染。
6、半挖半填路段,常遇到局部有较大缺口,施工中必须把缺口处树木、杂草及不适宜材料清除后方可开始填筑。半挖半填的半填处,必须先放出坡脚线,斜坡应按规范要求挖成台阶,然后才能分层填筑、碾压,且压实度必须达到设计要求。
7、路堑上下边坡要稳定,边坡符合设计要求,且边线直顺,曲线圆滑,边沟顺畅,雨天无积水。截水沟位置、方向、结构符合设计要求。
8、深挖地段的土质路基、工程地质不良路段应尽可能避开雨季施工。雨季开挖土质路段时,宜分层开挖,每层底面应设大于1%的纵坡,挖方边沟宜沿边坡预留30cm厚,待雨季后再修整到设计坡线,开挖路堑宜于距路床顶30cm时停止开挖,并在两侧挖排水沟,待雨季后再挖到设计标高。
9、注意爆破安全,应以小型及松动爆破为主,严禁过量爆破。
10、路堑边坡不允许留有松动危石,并及时整修好上边坡。路堑开挖时,应尽量避免超挖,超挖部分应在防护工程施工时用浆砌片石填实。
11、承包人在路堑挖方施工过程中发现软弱夹层及断裂层应及时报告监理及设计代表,以便及时变更,防止滑坡。
12、路基挖方监理工作流程
4.2.7路基填方
1)填料要求
1、严格禁止使用淤泥、沼泽土、有机土、含草皮土、生活垃圾、树根和含有腐朽物质的土或规范、设计文件、上级文件明文规定不能用于路基的填料。
2、监理工程师会同承包人对挖方、料场的路堤填料取有代表性的土样进行颗粒分析、含水量与混合密度、击实试验,确定填料性质,若不符合规范要求,应在开工前要求更换料场。若填料能用于工程,由监理工程师批准不同填料最大干密度和最佳含水量或综合毛体积密度后用以控制路基压实度。
3、性质不同的填料应分开挖运、分层铺筑,不能混用。
4、施工过程中,应严格禁止填料中混有不适宜的材料及土壤、杂草、垃圾等,如有发现,监理应立即通知承包人将不适宜填料清理出施工现场。
5、填料粒径要严格控制,解小工作必须在料场进行,不允许在摊铺现场采用大面积人工敲碎方法解小,现场超过50cm的石块必须清除出场。现场监理应
2)施工准备
1、监理开工前检查承包人准备情况,包括承包人的人员到场情况,质量保证体系的建立情况,检查进场机械、材料、试验设备是否满足工程需要。
2、填筑路基前,承包人必须先挖好临时排水沟,临时排水沟一般不得小于50cm×50cm,并保持畅通。路基填筑一般应先疏干积水、降低地下水位,再进行清表、碾压,原地面压实度达到要求后方进行路基填筑(特殊情况下允许先填筑第一层宕渣压实后再开挖检测原地面压实度)。
3、试验路段:路基施工前,承包单位应在监理工程师批准的路段自费修筑长度不小于100m(全幅路基)的试验路段,以确认不同材料在不同的压实机械下的松辅厚度、碾压速度、工序及组合方式、最佳含水量等。试验结果经监理工程师批准后方可进行路基填筑。
3)路基填筑施工
1、路基填筑施工中,应在实验段施工结果的基础上,确定松铺层厚.压实层厚,土方路基松铺厚度不大于30cm;如采用路堑开挖石方及隧道爆破石方作填料的石方(石料含量大于70%)路基,松铺可达50cm,最大颗粒不大于松铺厚度的2/3采用机械辅助人工整平,20吨(静压)以上低频高幅振动压路机,碾压速度控制在1-2Km/h(其他填方路基4km/h)压实到顶面不再下沉为密实(继续碾压下沉量不超过5mm),路基填筑中要求采用挂线、标高台及卸料密度严格控制松铺厚度;每侧填筑宽度应超出设计宽30-50cm,压实后的路基表面应平整,路拱不小于2-4%,对采用透水性小的土(如山皮土)必须作好横坡。
2、填土路堤分段施工时,纵向交接处应对已填筑路段挖出台阶,每级台阶宽度不得小于2m;如两段同时施工,则应每层互相交叠衔接,其搭接长度不得小于2m。地面线横坡在1:5~1:2.5之间的填方段,清表后挖台阶,大于1:2.5的半填半挖段,应严格按图纸要求挖出台阶,碾压密实,铺设格栅。
3、对高填方段,原地表必须处理彻底,并严格控制松铺厚度和压实度,以保证路基稳定性和沉降要求,设计边坡以外废土必须清理,并做好临时排水。
4、刷坡同步,每层路基填筑后应立即进行刷坡(≥50cm的预留超宽仍应保留),每隔20m在路基边坡上用砂浆抹一道临时流水槽,防止雨水冲刷边坡。
5、承包人应逐层逐段自检(灌砂法)碾压后的路基压实度,自检不合格时,自行补压,若自检合格后,填报中间检验单,向监理申请抽检。监理工程师应在收到申请后的24h内到达现场按规定频率检测(灌砂法),检测合格后签字认可,并允许承包人进行上层铺筑。
6、完工后验收的质量标准、检查项目、方法和频率见附表。
7、填方路基工程质量监理控制图
8、填方路基工序监理控制流程图
4.3台背回填
设计中规定的桥台采用图纸要求的级配砂砾水密法填至规定范围,没有规定的采用稳定性好的透水性材料(砂砾、碎石)或半刚性材料(石灰石等)填筑,填料要求最大粒径不大于5cm、塑性指数不大于12,每层层厚不大于15cm,并在台背后用醒目颜色划好线、注明层次,底面长度不小于2M,顶面长度不小于台高加2米,拱桥不小于台高的3~4倍,填料要有级配,不能用级配不佳、孔隙较多的清宕渣代替砂砾等透水性材料回填。回填施工应对称回填压实并保持结构物完好无损。结构物处的压实度要求从填方基底或涵洞顶部至路床顶面均为95%。
4.4路基整修
1、每一层填土经监理抽检合格后必须及时对路基边坡进行整理,做到边坡顺直、平整、美观。
2、路堑边坡整修要注意深路堑上边坡的稳定性和边坡度符合设计要求,上边坡整修原则应是宁刷不贴。
3、路堤整修时,应注意到边坡度符合要求,若路基超宽或坡度缓于设计时可按设计要求清除或在对占地、边沟等无不良影响情况下只清除路肩以下50~100cm。若宽度和坡度不能满足设计要求,应将该处全长范围内挖台阶,在监理工程师指导下分层填补,细致认真夯实。
4、土石方边沟及用浆砌或干砌加固的边沟整修时必须挂线进行。应检查水沟的纵坡、宽度、路肩线及内外坡坡度。凡不符合设计或不顺直者,必须修整。截水沟检查,应注意到位置正确,适合地形情况,地基牢固不受山水冲刷淘空基础下部而造成倾覆。
5、路床整修除按规范规定外,还应做到:
1)高程及横坡度的整修一定要做到宁刮勿填。对超出误差范围的赘土应用平地机刮去,对超过误差范围的低值或局部坑洼,原则上不宜再用土料找平,而在路面结构层施工时直接用结构层材料填补。
2)路床整修后外观应无“弹簧”起伏和干松散现象。
4.5雨季施工的监理
1、应编制雨季施工实施性施工组织设计。
2、施工便道应保证晴雨畅通。
3、修建临时排水设施,保证雨季作业的场地不被洪水淹没并能及时排除地面水。
4、路堤填筑时应选用透水性较好的碎石、卵石土、沙砾、石方碎渣和沙类土作为填料。土质过湿应风干,挖土面和工作点都要保持一定的坡度,以利雨水排走。
5、路堤应分层填筑,每一层表面应作成2~4%的排水坡。当天填筑的土层应当天完成压实,防止表面积水和渗水,将路基浸软。
6、路堤填筑完成后,为防止路床积水,应在路肩处每隔5~10m挖一道横向排水沟,将雨水排除路床。
7、雨季施工应集中人力、机具,采取分段突击的方法,完成一段再开一段,切忌在全线大挖大填。施工坚持“两及时”,遇雨要及时检查,发现路基积水要及时排除;雨后积水检查,发现翻浆要及时处理,挖出全部软泥,填筑透水性好的沙石材料并压实。
5.1.1施工要求:
1、测量放样:按挖、填土方调运表合理堆放,不得影响交通。
2、严格控制挖填方量,避免超挖填,并形成路拱,以利排水。
3、挖填要按设计标高,随时整平路床,不允许出现高低不平,且应预留碾压沉降量。
4、若遇不良土质,则进行换填或补强处理。
5、挖方到位后或填方填土前,应用重型振动压路机进行碾压4~5遍。
6、碾压顺序为自路边向中央每次重叠15~20cm,先静后振,先慢后快,碾压至无显著轮迹为止;在压实过程中应随时检查有无软弹、起皮、推挤、波浪以及裂纹等现象,如发现上述情况,应随时采取处理措施。
7、挖填完成后,复测并对路床整平形成路拱、路幅,以满足设计要求的路床外形尺寸。
5.1.2质量检验标准:
按照CTJT-90《市政道路工程质量检测评定标准》执行:
| 序号 | 检查项目 | 规定值或允许偏差 | 检查方法及频率 |
|---|---|---|---|
| 1 | 纵断高程(mm) | ±20 | 水准仪:每20m一点 |
| 2 | 中线偏位(mm) | ±20 | 经纬仪:每200m四点,弯道加HY,YH两点 |
| 3 | 宽度(mm) | 不小于设计值 | 用米尺:每40m一处 |
| 4 | 平整度(mm) | 15 | 3m直尺:每20m*3尺 |
| 5 | 横坡(%) | ±0.5且不大于±20mm | 水准仪:每20m检六点 |
| 6 | 压实度(%) | 规定95%以上 | 粘土质用环刀法、碎石土用灌砂法 |
5.2填隙碎石底基层(新建)
5.2.1原材料要求
碎石应采用质地坚韧、耐磨的花岗石或石灰石,应呈多棱角块体,清洁无土,不含石粉及风化杂质,严禁软硬不同的石料进行掺用。碎石技术指标及规格如下表:
| 序号 | 项目 | 技术指标及规格 |
|---|---|---|
| 1 | 抗压强度 | 大于80Kpa |
| 2 | 软弱颗粒 | 小于5%总重 |
| 3 | 含泥量 | 小于2%总重 |
| 4 | 形状扁平细长(1:2) | 小于20% |
| 5 | 碎石规格 | 3~7cm |
| 6 | 嵌缝料规格 | 1.5~2.5cm |
5.2.2施工监控要点
(1)摊铺
摊铺前应对基层设计标高及路中线、边线进行检查验收,表面清洁杂物;摊铺时应反复检查虚铺厚度及横断面符合设计要求,经验虚铺系数:人工1.3~1.4,机械1.2~1.25。
(2)稳压
采用8~10t压路机自两侧向路中慢速稳压两遍,初步形成平面;稳压两遍后即洒水,用水量约2~2.5kg/m²,以后随压随洒,用水量约1kg/m²,保持石料湿润,减少摩阻力。
(3)碾压
采用12~15t压路机碾压,由两侧向路中碾压,先压路边二三遍后逐渐移向中心。弯道超高和纵坡较大路段,应由低向高处碾压。从稳压到碾压全过程都应随压随洒水,总洒水量约12~14kg/m²。碾压全过程要完全中断交通,严禁机动车等在上面掉头、转弯、刹车以防表面松动。碾压中局部出现“弹软”现象,应立即停止碾压,待翻松晾干或处理后再压,若出现推移应适量洒水,整平压实。如出现碎石呈圆形和形成石屑过多,即为“过碾”,应将过碾部分碎石挖出,筛除细小石料,添加带有棱角的新料,再行碾压。分段施工时,衔接处留一端不压,供下一段施工机械回转之用。碎石压好后应先洒水,再撒布1.5~2.5cm的小碎石0.5m³/100m²,慢扫均匀,每压2~3遍须洒水一次,每次不大于1kg/m²。
(4)养护
碎石层成活后,须在湿润状态下养生,表面过于干燥时可打水花(0.5kg/m²),并应禁止各种车辆通行,尤其是履带车辆。
5.2.3质量要求
表面应坚实、平整,嵌缝料不得浮于表面或聚集形成一层;用12t以上压路机碾压后,轮迹深度不得大于5mm。
5.2.4允许偏差值
5.3水泥稳定碎石层
1、水泥应采用普通硅酸水泥、矿渣硅酸盐水泥、粉煤灰水泥、复合水泥,初凝时间应在3h以上,终凝时间6h以上,水泥质量必须符合现行国家标准,对其强度、安定性及其他必要性指标进行检验。
2、水泥稳定碎石层中的碎石压碎值应符合下列要求:
3、适宜用水泥稳定的集料颗粒组成范围:
4、水泥稳定碎石层施工时应均匀的探铺在预定的宽度上,表面要力求平整,并有规定的路拱,松铺的厚度应符合预计要求。
5、跟据路宽、压路机的轮宽和轮距的不同,制定好碾压方案,应使各部分碾压到的次数尽量相同,路面的两侧应多压2~3遍,并达到要求的密实度,同时没有明显的轮迹。
6、水泥稳定类混合料7d无侧限抗压强度要求(Mpa):
| 道路等级 | 基层 | 底基层 |
|---|---|---|
| 快速路、主干道 | 3~5 | 1.5~2.5 |
| 其他道路 | 2.5~3 | 1.5~2.0 |
7、水泥稳定碎石基层和底基层质量检验标准及允许偏差:
8、外观质量要求
1)混合料拌合均匀,色泽一致,无明显离析。
2)表面平整、密实、无坑洼、施工接茬平整。
5.4封层
1、封层应选择坚硬、粗糙、耐磨、洁净的集料。各项性能应符合下表1的要求。封层用通过4.75mm筛的合成矿料的砂当量不得低于60%。
表1封层的矿料继配
2、封层混合料中乳化沥青及改性乳化沥青的用量应通过配合比设计确定。混合料的质量应符合下表2的技术要求,改性乳化沥青需满足下表3的技术要求。
表2封层混合料技术要求
| 项目 | 单位 | 封层 |
|---|---|---|
| 可拌合时间 | s | >120 |
| 稠度 | cm | 2~3 |
| 粘聚力试验 30min(初凝时间) 60min(初凝时间) | N·m | (仅适用于快开放交通的稀浆封层)≥1.2 ≥2.0 |
| 负荷轮碾压试验(LWT) 粘附砂量 轮迹宽度变化率 | g/m² % | (仅适用于快开放交通的稀浆封层)<450 - |
| 湿轮磨耗试验的磨耗值(WTAT) 浸水1h 浸水6h | g/m² g/m² | <800 - |
表3改性乳化沥青技术要求
3、封层必须使用专用的摊铺机进行摊铺。封层可采用普通乳化沥青或改性乳化沥青,其品种和质量应符合要求。
4、封层施工前,应彻底清除原路面的泥土、杂物,修补坑槽、凹陷,较宽的裂缝宜清理灌缝。
5、封层最低施工温度不得低于10℃,严禁在雨天施工。
6、封层两幅纵缝搭接的宽度不宜超过80mm,横向接缝宜做成对接缝。分两层摊铺时,第一层摊铺后至少应开放交通24h后方可进行第二层摊铺。
7、封层铺筑后的表面不得有超粒径料拖拉的严重划痕,横向接缝和纵向接缝处不得出现余料堆积或缺料现象,用3m直尺测量直缝处的平整度不得大于6mm。
8、封层施工过程中质量的控制标准
5.5热拌沥青混合料面层
5.5.1道路石油沥青技术要求
5.5.2聚合物改性沥青技术要求
5.5.3沥青混合料用细集料质量要求
| 项目 | 单位 | 快速路、主干道 | 其他道路 |
|---|---|---|---|
| 表观相对密度,不小于 | t/m³ | 2.5 | 2.45 |
| 坚固性(>0.3mm部分),不小于 | % | 12 | - |
| 含泥量(小于0.075mm的含量),不大于 | % | 3 | 5 |
| 砂当量,不小于 | % | 60 | 50 |
| 亚甲蓝值,不大于 | g/kg | 25 | - |
| 棱角性(流动时间),不小于 | s | 30 | - |
5.5.4沥青混合料用粗集料质量要求
5.5.5热拌沥青混凝土的矿粉质量要求
热拌沥青混凝土的矿粉必须采用石灰岩或岩浆岩中的强基性岩石等憎水性石料经磨细的得到的矿粉,原石料中的泥土杂质应除净。矿粉应干燥、洁净,能自由地从矿粉仓流出,其质量应符合下表规定及设计要求。
5.5.6热拌密级配沥青混凝土混合料马歇尔试验技术要求
5.5.7热拌沥青混合料的施工温度
5.5.8聚合物改性沥青混合料的施工温度
5.5.9外观质量要求
1)表面应平整、密实,无泛油、松散、裂缝和明显离析等现象。
2)施工接缝应紧密、平顺、烫缝不枯焦。
3)面层与路缘石、平石及其他构筑物衔接平顺,无积水等现象。
5.5.10热拌沥青混合料路面质量检验标准:
(1)原材料
1)石料要求
1、应采用坚石或次坚石,不得用风化石或软石。标号不应低于25Mpa。石质坚固、结构紧密、色泽均匀、不易风化、无裂缝。
2、片石:最小边应不小于15cm,次边应大于1.5倍最小边,大边应大于1.5倍次边,并应尽量采用较大石块,卵形和薄片者不得使用。对于用作镶面的片石,应选择表面平整,尺寸较大者,并加以修凿。
3、块石:应尽量方正,最小厚度不应小于20cm,宽度不应小于厚度,长度不应小于宽度的1.5倍。用作镶面时,表面应加工修凿,外露面四周向内亦应稍作修凿。
4、石料表面应清洁、无泥土、水锈。
2)砂浆要求
1、砂浆宜采用砂浆搅拌机搅拌,且拌和时间不得少于3分钟。并不得采用人工拌和。经拌和的砂浆应具有良好的和易性和流动性。砂浆应随拌随用,中途不得加水改变稠度。
2、砂浆的种类和标号应符合设计要求。配合比应经过试验确定,并应经常根据集料含水量调整施工配合比,拌和机前必须挂黑板注明砂浆标号、理论配合比和施工配合比。
3、砂浆所用砂,宜选用中砂和粗砂。砂的最大粒径,当砌筑片石时,不应超过5mm;当砌筑块石、料石、砼预制块时,不应超过2.5mm。
4、砂浆所用水泥,其质量应符合技术规范的要求,为保证砂浆的质量,要求采用年产50万吨以上、回转窑生产厂家的水泥。
5、拌和砂浆所用水应符合技术规范的有关要求,不得采用泥浆水、浅沟里的水和其它不符合要求的水。
(2)承包人应在防护工程开工前对工程所在位置的原地面进行复测,以核实图纸上防护构造物尺寸、形状和基础标高是否符合实际。
(3)承包人应按图纸确定的防护构造物的位置和标高,进行测量放样,并经监理工程师核准。
(4)在开工之前,承包人应向监理工程师提供本工程的有关施工方法和施工安排的书面报告,只有在获得监理工程师的批准后,才能开工。
6.2施工阶段的监理
1、浆砌片(块)石应采用坐浆砌筑。各砌层的砌块应安放稳固,砌块间应砂浆饱满、粘结牢固,不得直接贴靠或脱空。砌筑时,底浆应铺满,竖缝砂浆应先在已砌石块侧面铺放一部分,然后于石块放好后铺满捣实。严禁采用干砌勾缝形式砌筑,也不得采用先铺一层石块再倒一层砂浆方式砌筑。
2、砌筑工艺严禁二层皮,当中填石工艺。
3、每一砌块至少有3个坚实支点,砌缝宽度不应大于3cm。
4、砌筑上层砌块时,应避免振动下层砌块。
5、各砌层应先砌外圈定位行列,然后砌筑里层,并应丁顺相间或二顺一丁排列,外层砌块与里层砌块交错连成一体。
6、砌体的外露面应进行勾缝,并应在砌筑时靠外露面预留深约2cm的空缝备作勾缝之用。勾缝要求统一勾3cm宽的凸缝。
7、泄水孔一律采用Φ60mm的PVC管,泄水孔外露面应凸出砌体外露面2cm,并用7.5#砂浆抹成直径16cm的圆形。,泄水孔应穿透砌体,后面应设反滤层;泄水孔应设置4%的纵坡以保证排出砌体后积水,不得出现泄水孔高低不一、间距不匀的现象。
8、沉降缝应做到缝宽一致、整齐垂直、上下贯通,特别是上下级防护工程沉降缝必须在一条线上。
9、护面墙施工时,必须按从下到上的顺序进行施工,防止出现滑坡。
10、发现软弱夹层和断裂层的路堑边坡应马上报告监理及设计代表,以便及早处理。
11、路堑开挖时,应尽量避免超挖,超挖部分应在防护工程施工时用浆砌片石填实。
12、砌体必须达到砌体直顺、砌筑面平整美观,石块嵌挤紧密、牢固、无松动现象。
1、人行道土基宜采用低液限粘质土、低液限粉质土或粗粒土填筑,不得使用淤泥及有机质土等填料。
2、人行道土基质量检验标准及允许偏差

7.2混凝土垫层
1、混凝土所用的水泥、水、骨料、等必须符合施工规范和有关标准的规定。
2、混凝土的配合比、原材料计量、搅拌、养护和施工缝处理,必须符合施工规范的规定。
3、混凝土应振捣密实,蜂窝面积一处不大于200cm²,累计不大于400cm²,无孔洞。无缝隙无夹渣层。
7.3砂浆找平层
1、采用砂、干拌水泥砂,水泥砂浆或石屑作为整平层时,砂宜采用中,粗砂,细度模数为2.3~3.2;石屑采用3~6mm。整平层含泥量宜小于5%
2、干拌水泥砂、水泥砂浆整平层中的水泥标号及掺加量需符合设计要求。
3、整平层厚度需符合设计要求。
7.4预制板铺面
1、人行道预制板的强度应符合设计要求,无特别要求时,抗压强度应不低于30Mpa,抗弯折强度不低于4.0Mpa。
2、人行道预制板制成品外形质量要求
| 项次 | 检查项目 | 单位 | 规定值及允许偏差 |
|---|---|---|---|
| 1 | 边长 | mm | ±3 |
| 2 | 对角线长度 | mm | ≤5 |
| 3 | 厚度 | mm | ±3 |
| 4 | 厚度差 | mm | ≤3 |
| 5 | 平整度 | mm | ≤2 |
| 6 | 缺棱掉角长度 | mm | 摄影尺寸≤10 |
3、外观质量要求
1)铺面平整、稳固、无空鼓、翘动、断块等缺陷;直线段与曲线段衔接和顺。
2)铺面边角整齐,纵横顺直,缝宽均匀,灌缝饱满且砂浆不外溢。
3)铺面横坡平顺,无积水、反破缺陷,板块与井框及构筑物衔接和顺。
4)铺面边角补缺部分的现浇水泥混凝土应分格整齐、纹眼清晰、表面平整。
4、人行道预支板铺面质量检验标准及允许偏差
7.5街坊道口
1、街坊道口结构层厚度,需符合设计要求。无要求时,现浇水泥混凝土铺面厚度不宜小于20cm,热拌沥青混合料铺面厚度不宜小于10cm。
2、外观质量要求
1)道口与车行道、人行道、街坊道路衔接平顺,无积水现象。
2)其余外观要求同相应人行道铺面的外观要求。
3、道口铺面质量检验标准及允许偏差
7.6无障碍设施
1、无障碍路缘石坡道、行进忙道和提示忙道的平面位置、铺设形式、色彩应符合设计要求。
2、触感忙道、路缘石坡道铺面的质量检验要求应符合本节4.4表的规定。
3、无障碍路缘石坡道的形状、坡度应符合设计规定;路缘石坡道正面的侧石应高出平石并不大于1cm。
4、外观质量要求
1)触感忙道铺面平顺,与相邻铺面衔接平整、紧密,无接边高差等缺陷。
2)路缘石坡道铺面与周边人行道铺面连接和顺,无缺漏破损等缺陷。
5、盲道和路缘石坡道铺面质量检验标准及允许偏差
7.7路缘石
1、水泥混凝土预制路缘石的强度应符合设计要求。
2、水泥混凝土预制路缘石和树池石制成品外形质量要求
| 项次 | 检查项目 | 单位 | 规定值及允许偏差 |
|---|---|---|---|
| 1 | 长度 | mm | ±5 |
| 2 | 宽度与厚度 | mm | ±2 |
| 3 | 缺棱掉边 | mm | ≤20,外露面、边、棱角完整 |
| 4 | 其他 | — | 颜色一致,无蜂窝、漏石、脱皮、裂缝等 |
3、外观质量要求
1)安装平整,稳固,色泽一致,无缺角、掉边,断块等缺陷,直线段与曲线段衔接和顺。
2)顶面纵横破平顺,无积水,反破缺陷,顶面与人行道板衔接和顺。
3)灌缝饱满,填缝密实,勾抹光洁。
4、水泥混凝土预制路缘石质量检验标准及允许偏差
7.8树池
1、水泥混凝土预制树池石的强度应符合设计要求,其抗压强度不应低于30Mpa。
2、外观质量要求
1)安装平整、稳固、色泽一致,无缺角、掉边、单块等缺陷。
2)缝宽均匀,座浆饱满且砂浆不外溢
3)顶面纵、横坡与人行道板铺面保持一致,与人行道板衔接和顺。
4)安装水泥混凝土预制树池石时,其四条边应分别垂直的平行于路缘石。
3、水泥混凝土预制树池石质量检验标准及允许偏差应符合规范要求。
8.1沟槽开挖
1、管道沟槽底部的开挖宽度,应满足设计要求,沟槽边坡应符合建设部GB50268-P7《给排水管道工程施工及验收规范》表3.2.2规定。
2、机械挖槽时,沟槽分层的深度应按机械性能确定,沟槽挖土弃方应外运,土方外运过程不得污染街道,不得影响城区交通。
3、沟槽开挖质量要求:不得超挖,不得扰动天然地基;槽壁平整,边坡坡率应符合施工设计规定;沟槽中心线每侧的净宽不应小于管道沟槽底部开挖宽度的一半;沟槽开挖应符合下表规定:
| 项目 | 允许偏差 | 检验频率范围 | 检验频率点数 | 检验方法 |
|---|---|---|---|---|
| 槽底高程 | 0,-30 | 两井之间 | 3 | 水准仪测量 |
| 槽底中心线两侧宽度 | 不小于规定 | 两井之间 | 6 | 挂中心线用尺量,每侧6点 |
4、沟槽开挖遇地下水及地表积水应采取措施进行施工排,施工排水时不得妨碍过往行人、车辆通行。
8.2管道砂砾垫层
砂砾垫层对夹砂管的支撑应保证均匀而连续,防止管道产生不均匀下沉,使管道受力不均匀。砂砾垫层要求分二层铺设:下层天然级配砂砾,上层5cm粗砂。砂砾铺设后要求灌水密实。
8.3管道安装
1、管节应采用机械起吊、装卸时,应轻装轻放,且平放垫稳(管基检验合格),夹砂管装卸时的吊装绳应是柔韧的、较宽的皮带、吊带或绳。
2、夹砂玻璃钢管是可燃的化学复合材料,严禁被放置在易燃物旁边或火源附近。
3、管节安装前应进行检查,发现裂缝等质量缺陷,在使用前应修补,鉴定合格后方可使用。
4、管道安装时,将管节的中心线及高程逐步调整正确,就位后的管节应进行复测合格后方可进行下道工序施工。
5、接口材料应符合技术规范要求。
8.4检查井
1、砌筑检查井所用的石材强度等级不得小于30MPa,所用混凝土构件强度等级不得小于C30。
2、井基基地承载力应满足设计要求,井基混凝土强度达到5MPa以上时,方可砌筑井身。
3、砌筑砂浆所用水泥、砂、水应符合现行规范要求。砌筑砂浆配合比正确,砂浆拌制应采用机械拌合。
4、检查井周围回填前井壁的勾缝、抹面和防渗应符合质量要求井壁同管道连接处应采用水泥砂浆填实。
5、井底高程必须满足设计要求,滑水槽设置真确。井壁必须互相垂直,不得有通缝,井壁砂浆饱满,灰缝平顺。圆形检查井内壁应圆顺,抹面应密实光洁。井内爬梯构件强度、承载力应满足检查人员上下安全功能需要。爬梯应安装牢固,步距适宜。车行道上的井框、井盖必须满足行车荷载要求。
6、外观质量要求
1)井框、井盖,必须完整无损,安装平稳,位置正确。井口周围不得有积水。
2)井内砂浆抹面厚度均匀,无裂痕,条石砌筑勾缝平顺光滑,收分均匀。
6、检查井施工质量检验标准及允许偏差
8.5雨水口及连接支管
1、雨水口应按道路设计图要求布点安装就位。雨水口连接支管及水篦强度和规格应满足设计及使用功能要求,支管及水篦应完整无损,安装平稳,支管安装底面标高必须符合设计要求。
2、砖砌井身必须错缝砌筑,砖缝灰浆饱满。水篦下的漏斗石表面应平整光洁,水篦与井身应上下对正。
3、外观质量要求
1)支管安装必须管直坡顺,不得有错口,管头应和井壁齐平。
2)雨水口内壁抹面必须平整,不得起壳,有裂缝。水篦下面严禁有垃圾和杂物。
3)水篦表面高程应低于雨水口周边路表面2cm,雨水口周边应和路面纵、横坡接顺,满足收水功能,水篦靠路缘石一侧应支撑牢固,紧靠路缘石。
4、雨水口支管施工质量验收标准及允许偏差
8.6沟槽回填
排水管道施工完毕并经检验合格后,沟槽应及时回填,不得将有机物、砖、石等硬块回填,沟槽回填质量还应符合城市道路设计规范要求:填方路基基层底面以下0~80cm,压实度≥95%;基层底面以下深度80cm以下,压实度≥93%,均为重型击实标准。
1、每套灯具的导电部分对地绝缘电阻大于2MΩ。
2、每根金属灯杆必须接地或接零。
3、灯杆基础混凝土强度等级不应低于C20,基础地脚螺栓在与灯杆连接时,应采用双螺母和加垫圈,在有振动的部位还应加弹簧垫圈。
4、气体放电灯的灯座导线,应使用额定电压不低于500V的铜芯绝缘导线。功率小于400W的最小允许线芯截面应为1.5mm²,功率在400W至1000W的最小允许线芯截面应为2.5mm²。
5、气体放电灯应在镇流器的进电侧安装熔断器。熔丝的选择应符合下列规定:
①250W及以下高压汞灯、150W及以下高压纳灯采用4A熔丝。
②400W高压汞灯和250W高压纳灯采用6A熔丝。
③400W高压纳灯采用10A熔丝。
④1000W高压纳灯和高压汞灯采用15A熔丝。
6、在灯臂、灯盘、灯杆内穿线不得有接头,穿线孔或管口应光滑、无毛刺。
7、灯杆垂直偏差应小于40mm,横向位置偏移应小于100mm。
8、竣工时的平均照度初始值应高于设计平均照度维持值得40%,均匀度达到设计要求。
9、灯杆基础坑的深度和直径(边长)应符合设计规定。深度的允许偏差应为+100mm、-50mm,直径(边长)的允许偏差应为+100mm、-10mm,超出正偏差允许限值以外时,偏差部分应用混凝土灌浆处理。
10、灯基础地脚螺栓埋入混凝土的长度应大于其直径的20倍,并应与主筋焊接牢固。螺纹部分在安装前后均匀加以保护。
11、灯杆根部接线孔的朝向应一致,宜朝向人行道或慢车道侧。
12、灯臂应固定牢靠,与道路纵向垂直偏差不应大于3°。
13、灯杆安装完毕后,根据应做混凝土或人行道砖块封面。地脚螺栓不应漏出底面,封面与地面平齐,误差应在+5mm、-0mm以内。
14、灯具安装纵向中心线和灯臂纵向中心线应一致,灯具横向水平线应与地面平行,紧固后目测应无歪斜。
15、灯具配件应齐全,无机械损伤、变形、油漆剥落、灯罩破裂等现象。灯具的效率不应低于70%,防护等级、密封性能必须在IP55以上。
16、各种螺母紧固,应加平垫圈或弹簧垫圈。紧固后螺丝露出螺母不得少于两个螺距。
17、混凝土干上路灯灯臂的抱箍应紧固,灯臂方向与道路纵向应成90°,误差不得大于3°。引下线应使用铜芯绝缘导线,且松紧一致。
18、架空引下线应穿管保护,搭接处离电杆中心宜为300mm-400mm,引下线不得有接头。
19、验收应提交下列资料和文件
1)项目竣工文字和图纸资料。
2)设计变更文件
3)灯杆、灯具、光源、镇流器等生产厂提供的产品说明书、试验记录、合格证件以及安装图纸等技术文件。
4)安装检测记录。
9.2线路敷设
1、金属电缆桥架、支架、导管必须接地或接零可靠,全长应不少于两处与接地或接零干线连接。非镀锌电缆桥架间连接板的两端跨接铜芯线接地线,接地线的最小允许线芯截面不小于4mm²;镀锌电缆桥架间连接板的两端不跨接接地线,但连接板的两端不少于两个有防松螺母或防松垫圈的连接固定螺栓。
2、电缆敷设严禁有纹拧、压扁、护层断裂和表面严重划伤、机械损伤等缺陷。
3、三相或单相的交流单芯电缆,不得单跟单独穿于金属导管内。
4、不同回路、不同电压等级和交流与直流的电缆、电线,不应穿于同一导管内,同一交流回路的导线应穿于同一导线内,且管内导线不得有接头。
5、低压电线、电缆的线间和线对地间的绝缘电阻值必须大于10MΩ。
6、直埋敷设的电缆穿越铁路、道路、道口等机动车通行的地段时应穿管敷设。
7、电缆直埋或穿管中均不得有接头,电缆的接头必须置于检查井中。
8、电缆埋设深度应符合下列规定:
①绿地、车行道下不应小于0.7m。
②人行道下不应小于0.5m。
③在不能满足上述要求时,应按设计要求敷设。
9、拉线穿越带电线路时,应在拉线上下加装绝缘子,拉线绝缘子自然悬垂时距地面不应小于2.5m。
10、架空线路在同一档内,同一根导线上的接头不应超过一个。导线接头的位置与导线固定处的距离应大于0.5m。
11、电缆穿管时,电缆的总截面积不应超过导管截面积的40%。电缆导管连接时,管孔应对准,接缝应严密,不得有地下水和泥浆渗入。
12、电缆导管的弯曲半径不应小于电缆最小允许弯曲半径。电缆的首端、末端和分支处应设标志牌。采用单芯电缆敷设时,中性线和保护线应按规定用不同的颜色进行区别。
13、桥架与支架间的螺栓、桥架间连接板螺栓固定紧固无遗漏,螺母应位于桥架外侧。
14、电缆在任何敷设方式及全部路径条件上、下、左、右改变部位,其弯曲半径应符合下列规定:
①聚氯乙烯绝缘电缆为电缆外径的10倍。
②聚氯乙烯铠装绝缘电缆为电缆外径的20倍。
③交联聚乙烯多芯绝缘电缆为电缆外径的15倍。
④交联聚乙烯多芯绝缘电缆为电缆外径的20倍。
15、架空线路的横担安装,直线杆应装与受电侧;分支杆、转角杆、终端杆应装与拉线侧。横担的安装应平正,安装偏差应符合下列规定:
①横担端部上下偏差不应大于20mm。
②横担端部左右偏差不应大于20mm。
③最上层横担距杆顶不应小于200mm。
16、线路的末端电压不得低于额定电压的92%。
17、工作井应符合下列规定:
①井内应有渗水孔,并且井壁用水泥砂浆抹面。井内无垃圾。
②直线段的工作井两侧管口中心应在一直线上,偏差不应超过20mm。
③井盖与井框的平整误差不应超过2mm,并且井盖与井框不应有裂纹。
18、验收应提交下列资料和文件:
1)项目竣工文字和图纸资料。
2)设计变更文件。
3)各种实验和检查记录等。
9.3变配电安装
1、设备的检查应符合下列规定:
①不得有机械损伤,附件齐全,各组合部件无松动和脱落。箱式变电站内部电器部件及连接无损坏。
②油浸式变压器密封处应良好,无渗漏油现象。
③所用螺栓应紧固,并有防松措施,绝缘螺栓应无损坏,防松绑扎完好。
④铁芯应无变形,无多点接地。
⑤绕组绝缘层应完整,无缺损、变位现象。
⑥引出线绝缘包扎牢固,无破损、拧弯现象,引出线绝缘距离合格,引出线与套管的连接应牢靠,接线正确。
2、与变压器、箱式变电站安装有关的建筑物、构筑物的工程质量,应符合国家现行的建筑工程施工及验收规范中的有关规定,并应符合下列要求:
①建筑物、构筑物应具备进场安装条件。
②基础、构架、预埋件、预留孔应符合设计要求,达到设备安装的强度要求。
3、接地装置引出的接地干线与变压器的低压侧中性点直接连接,接地干线与箱式变电站的N母线和PE母线直接连接。变压器箱体、干式变压器的支架或外壳应接地。所有连接应可靠,紧固件及防松零件齐全。
4、箱式变电站和落地式配电箱的基础应高于箱外地坪,周围排水畅通。用地脚螺栓固定的螺帽齐全,拧紧牢固。自由安放的应垫平放正。金属箱式变电站和落地式配电箱的箱体应接地或接零可靠,且有标识。
5、柜、屏、台、箱、盘的金属框架及基础型钢必须接地或接零可靠。装有电器的可开启门,门和框架的接地端子间应用裸编制铜带连接,且有标识。箱门开启应无障碍阻挡。
6、柜、屏、台、箱、盘间线路的线间和线对地间的绝缘电阻值,馈电线路必须大于0.5MΩ,二次回路必须大于1MΩ。
7、配电箱、盘、柜、屏应分别设置零线和保护线汇流排,零线和保护线经汇流排配出。带有漏电保护的回路,漏电保护装置动作电流不大于30mA,动作时间不大于0.1s。
8、室外柱上式变压器安装应符合下列要求:
①柱上台架所用钢铁构件应热浸锌防腐处理。
②变压器在台架平稳就位后,应固定牢靠。
③变压器应在明显位置悬挂警告牌。
④变压器台架距离地面不得小于2.5m。
⑤跌落式熔断器的安装位置距地面不得小于5m,相间距离不应小于0.7m。不应安装在有机动车行驶的道路侧。
⑥熔丝的规格应符合设计要求,无弯曲、压扁或损伤,熔体与尾线应压接牢固。
⑦变压器高压引下线、母线应采用多股绝缘线,之间的距离不应小于300mm,中间不得有接头。其导线截面应按变压器额定电流选择,但铜线不应小于16mm²,吕线不应小于25mm²。
9、变压器本体就位应符合下列规定:
①变压器基础的轨道应水平,轮距与轨距应适合。
②当使用封闭母线连接时,应使其套管中性线与封闭母线安装中心线相符。
③装有滚轮的变压器就位后,应将滚轮用能拆卸的制动装置加以固定。
④柱上变压器应将滚轮拆卸掉。
10、变压器附件安装应符合下列规定:
①油枕放气孔和导油孔应畅通,游标玻璃管应完好。
②油枕与支架、油箱应固定牢靠。
③干燥器中的干燥剂应未失效。干燥器与油枕间管路的连接应密封,管道应畅通。
④温度计信号接点应动作正确,导通良好。温度计座应密封良好,无渗漏现象和不得进水。
⑤变压器绝缘油质量必须合格。
11、箱式变电站的基础应符合设计要求,电缆室应有通风口,并有防止小动物进入箱内和良好的排水措施。
12、箱式变电站安装完毕后,应符合下列规定:
①箱内及各元件表面应清洁、干燥、无异物。
②操作机构、开关等可动元器件应灵活、可靠、准确。对装有温度显示、湿度控制、风机、凝露控制等装置的设备,应根据电器性能要求和安装使用说明书进行检查。
③所有主回路、接地回路及辅助回路接点应牢固,并应符合电气原理图的要求。
④变压器、高(低)压开关柜及所有的电器元件设备安装螺栓应紧固。
⑤辅助回路的电器整定值应准确,仪表与互感器的变化及接线极性应正确,所有电器元件应无异常。
⑥变压器绝缘电阻:干燥环境条件下,高压对低压及对地绝缘电阻不应小于300MΩ,低压对地绝缘电阻不应小于100MΩ。潮湿环境条件下,绝缘电阻不应小于20MΩ。
⑦低压开关设备的绝缘电阻值不应小于0.5MΩ,并在运行前的通电试验中无异常。
13、柜、屏、台、箱、盘单独或成列安装的允许偏差应符合下表规定。
14、允许最小电气间隙爬电距离(mm)
15、变压器投入运行后,连续运行24h无异常即可视为合格。
16、验收应提交下列资料和文件:
1)项目竣工资料
2)变更设计的文件
3)制造厂提供的产品说明书、试验记录、合格证件以及安装图纸等技术文件。
4)安装技术记录、检查记录等。
5)试验报告。
6)备品备件移交清单。
9.4控制系统
1、开关控制电器应符合下列规定:
①照度调试范围应为0~50LX。
②产品出厂调试照度与环境照度应一致。
③时间精度应小于±1s/d,定时时间误差不应累计。
④应具有多种定时开、关方式。
⑤性能可靠、操作简单,具有较强的抗干扰能力,存储数据不丢失。
⑥适用环境温度范围应在-15℃~55℃。
2、采用集中控制系统时,远动终端应具有在通信中断的情况下自动和手动开关的控制功能。
3、装有电子控制设备的柜(箱、盘)应有房尘、防潮、控温设施,并布局合理,整洁。
4、控制系统的元器件应保证其可靠性和精确度。遥控系统采集到的电参数应满足系统对电流、电压、功率、电量、亮灯率、终端箱内温度、门状等参数的需要。
5、遥控系统的应用模块应功能齐全、实用,具备权限认证,远程控制,设备故障报警,设备和地理信息查询、维护,数据统计、归档和打印。并能进行数据处理,通过分析判断,将运行故障显示或报警。
6、有限控制系统中的控制线应有明显标识,并不得搭接其他电器。
9.5安全保护
1、测试接地装置的接地电阻值必须符合设计要求。
2、采用接零保护时,保护零线上严禁装设熔断器或开关。
3、保护零线和相线的材质应相同。当相线截面在35mm²以下时,保护零线的最小截面应为16mm²;当相线的截面在35mm²以上时,保护零线的最小截面不得小于相线截面的50%。
4、接地装置的导体截面应符合热稳定和机械强度的要求。材料采用钢材时,应热浸锌防腐处理。最小允许规格、尺寸应符合下表的规定。
5、电气装置的下列金属部分,均匀接零或接地。
1)变压器、配电箱(柜、屏、盘)等的金属底座或外壳。
2)室内外配电装置的金属构架及靠近带电部位的金属遮拦和金属门。
3)电力电缆的金属护套、接线盒和保护管。
4)配电和路灯的金属塔杆。
5)其它因绝缘破坏可能使其带电的外漏导体。
6、不得利用蛇皮管、裸铝导线以及电缆的金属护套层做接地线。接地线不得兼做他用。
7、灯杆、配电箱等金属设备采用接地保护时,其接地电阻不应大于4Ω。
8、地体埋深不应小于600mm,垂直接地体的间距不应小于其长度的2倍,水平接地体的间距不应小于5000mm。
9、接地体的连接应采用焊接。焊接应牢固并应进行防腐处理,接至电器设备上的接地线应采用镀锌螺栓连接。对有色金属接地线不能采用焊接时,可用镀锌螺栓连接。
10、明敷接地线应符合下列规定:
①敷设位置不应妨碍设备的拆卸和检修。
②接地线应水平或垂直垂直敷设,在直线段上不应起伏或弯曲。
③支架的距离,水平直线段应为500mm~1500mm,垂直直线段应为1500mm~3000mm,转弯部分应为300mm~500mm。
④水平敷设时,距地面应为250mm~300mm,与墙壁间的距离应为100mm~150mm。
11、接地体的连接应采用搭接焊,焊缝饱满。其搭接长度应符合下列规定:
①扁钢为其宽度的2倍,并焊接两长边和一端边。
②圆钢为其直径的6倍。
③圆钢与扁钢连接时,其长度为圆钢直径的6倍。
④扁钢与角钢连接时,应在其接触部位两侧边和一端边进行焊接。
1、交通标志牌按图纸要求比例放大制作,指路标志板面中方向名字可根据当地交通管理部门要求实际情况添加,版面指示方向及形状可根据实际交叉路口情况,镜像使用,但尺寸及文字、图形形状不得任意修改。标志位置可根据实际情况适当调整,但必须完整反映该路段的实际情况和必须满足《道路交通标志和标线》(GB5768)之规定。
2、标志基础应在路面铺筑前浇注,并按设计尺寸指定位置进行开挖,在浇注混凝土基础前地基应进行休整、压实。基础周围应予以填埋平整。
3、安装支柱时,应待混凝土经过7天以上时间养护后方可进行架设,养护期间混凝土基础不得架设支柱和标志。
4、标志支撑构件应按设计及有关规范要求进行制造,在安装前应对各个部位的质量及结构整体性进行检查。
5、标志施工整个过程中从选材到各项施工工序及维护必须严格按照相关规范进行。
6、标线施工不得在路面养护期或恶劣天气中进行,施工时应注意避免长时间高温加热,防止涂料变色,根据涂料量和粘度的要求调节火候和转速。
7、标线施工应充分搅拌、混合,使涂料混合均匀,同时应均匀、全面的撒布玻璃珠,并根据涂料的温度严格控制撒布时间。
8、为提高路面与涂料的粘结力,混凝土路面须先涂裹底漆。
9、标志、标线施工应在当地交通主管部门的指导下实施,根据现场情况进行放样。
10.2交通标志
10.2.1质量要求
1、交通标志的制作应符合现行国标《道路交通标志和标线》(GB5768)和部标《公路交通标志板技术条件》的规定。
2、金属构件镀锌面不得有划痕,较大气泡和颜色不均匀等表面应光滑平整。
3、交通标志板面不得有划痕,较大气泡和颜色不均匀等表面缺陷。
4、安装过程应注意防止损伤标志板面。
5、地基承载力应满足设计要求。
10.2.2质量控制要点
1、严格检查标志板和结构件的质量。交通标志件和结构件的运抵现场后,现场监理人员应对标志板外形尺寸、标志字符尺寸,标志面反光膜、外观气泡、标志立柱、横梁及连接件质量,金属构件的防腐处理标志底板与铝槽边接等按照设计要求和相应标准逐项进行严格检查,使其符合设计要求。
2、检查基础定位放样。交通标志设置位置要按设计图进行精确放样,不得侵入公路建筑前限,确保侧向余宽,不允许道路沿线的上跨桥、照明设施及其他路上构造物对标志板面造成遮挡,影响标志的认读。
3、检查基坑位置、大小、深度及际载力,应满足设计要求。
4、监理人员现场旁站,监督检查基础砼的原料、拌和浇筑及预埋件、钢筋的布置。
5、检查立柱、标志板的安装质量。检查立柱安装的竖直度,标志板下缘至路面净空高度,内侧距路肩边线水平距离,并符合设计和规范要求。
10.3交通标线
10.3.1质量要求
1、标线材料应符合交通部标准《路面标线涂料》的规定。
2、标线喷涂或安装前应先清洁路面,不得有起灰现象。
3、标线的颜色及形状应符合现行国标《道路交通标志和标线》(GB5768)规定和设计要求。
4、所有标线应具有光洁、均匀及整齐的外观。
10.3.2质量控制要点
1、对进场的标线涂料、玻璃珠按规定的频率,对其密度、软化点、色度性能、抗压强度、耐磨、耐水、耐碱性、玻璃珠含量、密度等按规范进行检查,符合要求后方可使用。
2、现场旁站检查路面的清扫、标线位置、画底漆、画标线的施工质量。要求路面清扫干净,保持干燥,标线设置符合设计图纸要求,底漆涂刷均匀,干燥后涂敷标线,严格控制料温,玻璃珠撒布均匀。
3、检查完工的标线质量,对不符合要求的标线进行修整,去除溢边和垂落的涂膜,检查涂膜厚度、尺寸、玻璃珠撒布情况及划线的形状使其符合设计和规范要求。
10.4突起路标
10.4.1质量要求
1、突起路标应符合图纸要求,其面向行车方向的边长及平行于行车方向的边长或直径应符合《突起路标》(JT/T390)的规定。反光突起路标可用工程塑料、金属或强化玻璃及陶瓷等组成,不反光突起路在可用陶瓷等材料制作。突起路标底面应粗糙,以保证粘结剂能将其与路面牢固粘结。
2、反光突起路标反射体反射性能均匀,完整无缺角、缺口、突起路标壳体成型应完整,外表面不得有明显的划伤,颜色应均匀一致,无飞边。
3、突起路标应经抗压强度试验,抗压荷载应大于110KN。突起路标的色度性能逆反射特性、机械性能、耐候性能、耐盐雾及腐蚀性能均应符合《突起路标》(JT/T390)的规定。
10.4.2质量控制要点
1、突起路标进场后,应按设计要求和相应标准对其各项性能进行检查,符合要求后方可安装使用。
2、检查空起路标放样的位置是否符合设计图。
3、检查安装位置是否清扫干净,涂胶是否均匀。
4、检查安装质量,要求突起路标与路面粘按牢固,位置准备,空起高度符合要求,并与道路线形和标线配合顺畅。
10.5轮廓标(包括附着式轮廓标与柱式轮廓标)
10.5.1质量要求
1、附着式轮廓标的后底板、支架应按图纸要求制造,并符合《轮廓标技术条件》(JT/T388)的规定。铝合金板的性能符合《铝及铝合金轧制板材》(GB/T2517)的要求。用作支架及底板时,其最小实测厚度不小于2.0mm。
2、柱式轮廓标柱体按设计要求加工制造。其机械性能、耐久性能、耐盐雾腐蚀性能应符合《轮廓标技术条件》(JT/T388)的规定。
3、柱体表面应平整光滑,无毛剌、裂缝或气泡缺陷,无明显凹痕或变形。
10.5.2质量控制要点
1、对进场的轮廓标志按有关标准进行检查,合格后方可使用。
2、严格控制施工质量。柱式轮廓标和附着式轮廓标按设计图纸和有关规定进行施工。柱式轮廓标安装位置准确,基础牢固,柱体垂直;附着式应检查安装间距、安装角度、高度,符合设计要求。
10.6防眩板
10.6.1质量要求
1、采用镀锌钢板制作的防眩板,其钢材要求应符合图纸要求及《碳素结构钢》(GB/T700)的规定;采用合成材料制作防眩板时,应选用在自然条件下不易老化、不易褪色不易变形的高分子合成材料。
2、钢材制作的防眩板构件应按《公路防眩设施技术条件》(JT/T033)的有关规定。进行表面防腐处理。
3、防眩板的材质、防腐处理、几何尺寸应符合图纸要求。防眩设施整体应与路线形一致。防眩板平面弯曲度不得超过板长的0.3%。
4、防眩板设置的遮光角、防眩高度、板宽及板的间距应符合图纸的规定。
10.6.2质量控制要点
1、对进场的防眩板构件按照相应标准确进行核查,合格后方可使用。
2、严格按图纸要求进行定位、放样、安装,现场监理要进行全面核查。
11.1.1技术准备
1、项目部应组织技术人员对设计图纸进行复核,熟悉设计文件,并对施工队伍进行技术交底和安全交底。
2、试验准备
箱涵及首件工程施工前,对水泥、碎石、钢筋等原材料相关指标进行了试验检测,并报试验监理工程师审批,其原材料各项指标符合规范及设计要求。
11.1.2人员、机械设备进场
详见施工技术方案。
11.1.3现场准备
1、施工场地
现场的“四通一平”工作完成,人员、设备已进场,路通、水通、电通、信息通、场地平整已完成。现有临时道路通往施工现场和料场,交通方便,能满足施工要求。
2、临时供水电
施工应配有水车,可提供给生产使用。施工及生活用电均采用国家电网,通过与电力部门联系,由现有高压线路接入变压器,供应现场施工及生活用电,同时现场和拌和站各配备一台发电机作为应急设备。
3、钢筋加工场
为确保钢筋加工及安装质量,提高工作效率,加快施工进度,设立钢筋数控加工中心(钢筋加工棚)对钢筋及型钢等钢材集中进行加工。数控加工中心内配有钢筋数控弯曲机、数控弯箍机、切割机、电焊机、等设备机具,箱型通道的钢筋构件集中加工,然后运输至现场进行连接、安装、绑扎。
11.1.4材料准备
1、原材料准备
混凝土:全部采用商砼。
钢筋:公司统一采购钢筋
2、模板准备
模板进场后进行分类堆放。露天堆放时,地面应平整、坚实,有排水措施,模板底面应垫离地面200mm以上,按要求盖彩条布或帆布。
模板拉杆孔采用机械方式成孔,不得采用气割成孔,孔的直径与套管相近,套管伸长至模板外,套管与模板结合处封堵须严密,不得漏水或水泥浆。
11.2施工阶段
11.2.1测量放样
1、通道基础施工:用全站仪先放出基础四角位置,再定出纵横轴线,根据基础深度、基坑工作面面积和放坡坡度确定开挖边线,作出标记,在开挖边线外一定距离设置护桩。
2、底板、涵身及翼墙施工:用全站仪在基础表面放样出涵身的四角位置,用墨线弹出涵身的形状。
11.2.2开挖要求
1、基坑开挖应分层进行,每一层土方开挖应在其上部的支护体系能够满足设计要求后进行。
2、土方应分层、分段、均匀、对称开挖,土方开挖面高差不宜过大(软土中不大于1.0m),分段开挖长度约为20m,以确保开挖过程中土体自身的稳定。
3、土方开挖可采用机械挖土,但应注意挖铲不得碰撞支护结构。
4、土方开挖过程中应对整个支护体系的变形、受力情况进行严密的监测,一旦发现异常情况立即停止开挖,查明原因并采取有效措施后方可继续开挖。
5、土方开挖到设计标高后,应立即组织进行地基承载力试验,试验合格后及时浇捣素砼垫层,并进行底板的施工,防止基坑底土体暴露时间过长或泡水。
6、土方开挖过程中及施工期间基坑周围不应堆土方或建筑材料,严禁超载;土方开挖过程中,严禁施工机械碰撞、碾压垂直支撑、内支撑体系和支护结构。
7、基坑开挖时,应对平面控制桩、水准点、基坑平面位置、水平标高、边坡坡度等经常复测检查。
8、采用机械开挖土方时,需保持坑底土体原状结构,应在基坑底及坑壁留150~300mm厚土层,由人工挖掘修整。同时,要设置集水坑,及时用水泵排出坑底集水。
9、基坑周围地面应进行防水、排水处理,严防雨水等地面水浸入基坑周边土体。基坑开挖完后,应及时清底验槽,减少暴露时间,防止暴晒和雨水浸刷破坏地基土的原状结构。
10、基坑验槽后,及时浇好垫层封闭基坑;垫层要做到基坑满封闭。
11、土方开挖过程中,遇冬季、雨季、汛期施工时,注意气候、降雨、地震、降温等预报,按施工方案的规定,采取必要的安全防护措施。
12、基坑开挖前,应熟悉围护结构支撑系统的设计图,开挖应遵循时空效应原理,根据地质条件采取相应的开挖方式,一般应“分层开挖、先撑后挖”,撑锚与挖土配合,严禁超挖。
13、在施工过程中,有专人作检查、观测、发生异常情况立即查清原因,采取技术措施。
14、限制坑顶周围震动荷载作用,并应做好机械上、下基坑梯道部位的支护。基坑挖土时,做好挖土的机械、车辆的通道布置、挖土的顺序及周围堆土的位置安排。
15、基坑开挖过程中事故预防措施:
a.开挖过程中可能存在的隐患或引发的事故应预先制定抢救方案。
b.应在基坑工程施工过程中进行检测,实行信息化施工。掌握基坑施工边坡、围护结构的变形和变形速率,及时查明坑周地面的裂缝机器变化。
c.了解本地区类似场地一发生过的事故经验、教训,做好事故的防范。
d.严格控制周边的地上建筑、地下工程机道路工程等应进行监测,采取预防保护措施。
e.基坑施工中应随时密切注意气候、降雨、地震、降温等预报,做好相应预防措施。
16、开挖过程中,基坑两侧均需设置围挡结构,围挡结构的设置应满足规范要求。
11.2.3坑壁支撑及基坑排水
根据现场情况需要,选用短木桩和旧木模板对不稳定坑壁进行支撑加固。基底有渗水时,在基坑内沿基底四周设置30×30的截水沟沟,排水沟边缘距离基坑边坡坡脚≥0.5米,在基坑两端设置集水坑,集水坑坑底低于基底1.2米,坑底设潜水泵,随时抽走基坑积水,积水排入附近沟渠,严禁随便排放。
11.2.4防坍塌控制
开挖过程中严格控制坡度,开挖方法、开挖顺序、开挖高度、防排水、支护措施。
11.2.5坑壁支护
施工时先施工基坑支护结构再分步开挖地层形成具有一定宽度和深度的基坑,然后在基坑内修筑地道结构,结构施工完成后再按设计要求回填。
开挖前应按设计要求或根据土体类别和岩体风化程度进行稳定计算、确定安全系数,选用合理放坡坡度,保证边坡的稳定性。
11.2.6临边支护
基坑施工深度达到3m时,机械设备、人员的行走和坑边作业对基坑内的作业人员和设备构成威胁,应设置临边防护。
临边防护的材料、设置方式必须符合安全技术相关标准。
11.2.7坑边荷载
施工期内周边严格控制荷载、堆载,在结构未达设计强度要求之前不得有任何堆载。
11.2.8基坑支护变形监测
1、基坑开挖前应作出系统的检测方案,包括:检测方法、精度要求、检测点布置、观测周期、工序管理、记录制度、信息反馈等。
2、基坑开挖过程中特别注意检测如下:
a.支护体系变形情况;
b.抗壁渗漏水情况;
c.基坑外地面沉降或隆起变形;
11.3工艺要求
11.3.1通道基础
(1)垫层施工
砂砾用自卸车运至现场,用挖掘机或装载机布料。砂砾垫层铺设前,用全站仪在基坑内放出基础四角位置,将基础纵、横轴线从基坑处引至四周稳定位置,并对轴线桩加以保护。4:6砂砂垫层厚度为20cm,沿基坑轴线和两侧垫层边线布设3排木桩,纵向间距5米,用水准仪在木桩上测放出填筑层的高程,然后用挖掘机将砂砾布入基坑,人工根据木桩上的高程控制点挂线摊铺砂砾并整平,采用小型振动夯逐遍夯实,确保表面平整、密实。
(2)混凝土垫层浇筑
在施工完成的砂砾垫层上恢复箱型通道基础的四个角点点位,然后用10×10cm方木做模板,沿四周边线支立,模板顶面与设计砼基础面同高,以此控制垫层标高,模板用C25钢筋固定。混凝土用罐车运至工地,用溜槽或吊车配合料斗浇筑入模,人工用铁耙和铁锹摊铺整平,采用插入式振捣器振捣密实。振捣遵循“快插慢拔”的原则进行,每次移动距离不超过工作半径的1.5倍,并注意边角处的振捣。每一个振捣点,振至混凝土停止下沉,不再有气泡冒出、泛浆且隐显骨料为止。然后人工用木搓板收面整平,遍数不少于2遍,混凝土初凝后及时用土工布覆盖并洒水保湿养生。
11.3.2钢筋工艺
(1)钢筋制作、加工
钢筋在数控加工中心内采用数控设备统一制作加工,运至施工现场绑扎成型。
(2)钢筋配料
钢筋加工配料时,根据图纸准确计算钢筋长度,有弯钩的钢筋,要加其长度,并扣除钢筋弯曲调整长度,计算钢筋实际需要长度。同直径、同标号不同长度的各种钢筋编号先按顺序填写配料表,再根据调直后的钢筋长度,统一配料,以便减少钢筋的断头废料和焊接量。
(3)钢筋成品的存放
同一类型钢筋存放在一起,型式相同的钢筋绑成捆,挂上编号标签,写明钢筋规格尺寸。弯曲成型的钢筋在运输时,要谨慎装卸避免变形,存放时避免受潮生锈。
(4)钢筋加工要求
1、弯曲钢筋时,要先反复修正,直至尺寸和形状完全符合设计后,再进行正式加工生产。
2、钢筋连接:直径大于12mm的钢筋采用焊接,焊接时要确保两接合钢筋轴线一致,接头双面焊缝的长度不小于5d,焊接完成后及时将焊渣清除干净。
(5)钢筋绑扎
箱型通道钢筋分三次绑扎成型,基础混凝土施工完毕且达到设计强度的70%以上后开始绑扎底板及侧墙预埋钢筋,待底板混凝土浇筑完成后,再进行第二次墙体钢筋绑扎,顶板模板安装后进行第三次绑扎顶板钢筋。
钢筋绑扎时,钢筋的交叉点用铁丝绑扎结实,必要时可用点焊焊牢,绑扎用的铁丝统一向里弯,不得伸向保护层内,受力钢筋焊接接头设置在内力较小处,并错开布置,配置在接头长度区段内的受拉钢筋,接头截面面积不能超过50%,绑扎过程中及时检查绑扎完的钢筋骨架,使其符合图纸设计要求。
顶、底板钢筋的上、下层采用组合钢筋来固定,侧墙钢筋绑扎时,采用钢筋定型模架,并用脚手架固定墙体立筋,侧墙内外层钢筋用7、8号筋固定。不同部位安放足够数量的垫块,底部每平方米不少于6块,侧面每平方米不少于4块,以用来控制钢筋保护层的厚度。每15米设一道沉降缝,贯穿整个断面,沉降缝处钢筋全部断开;箱涵水平施工缝应高于底板上表面50cm,侧墙施工缝预埋钢板止水带。
11.3.3模板工艺
箱型通道及箱涵模板采用大块木模板,每块模板的面积不小于1m²。模板拼缝夹橡胶条,保证拼缝的密闭性,沉降缝处用涂刷沥青的木板隔开。
(1)底板模板
底板钢筋及墙体预埋筋绑扎完成后,开始支立底板模板。墙体外模板立80cm高,与底模一起加固。伸缩缝处用涂刷沥青的木板隔开,模板拼缝夹橡胶条,防止漏浆。外侧模板采用斜撑加固,间距不大于1m,并在撑角处要打木桩加固。墙体模板采用对拉螺杆加固,间距不大于1m,螺杆外穿PVC管,管径大于模板预留孔直径,同时内设标准支撑。模板加固完毕后,检查模板的平面位置、尺寸,接缝情况,加固稳定情况,合格后报监理工程师检验。
(2)墙体及顶板模板支设
底板混凝土强度达到设计强度75%以上后,安装侧墙模板及顶板模板。墙体模板安装前先调整墙体钢筋,对侧墙已完成部分混凝土表面进行凿毛处理。墙体模板采用对拉螺栓及标准支撑来控制墙体内外模的间距,对拉螺栓间距不大于1.0m。外模的斜撑支撑在基坑坡面土体上,撑角处加木板加固。模板支架脚手禁止与平台脚手、钢筋脚手相连接,防止因其他振动造成模板松动。顶板模板支撑采用满堂支架,用Φ48mm,壁厚3.0mm钢管搭设支架,支架纵横向间距为0.9m,横杆步距0.9m,支架底托安置在10×10cm方木上,使应力分散,上端用顶托和方木垫木托住竹胶板。沿涵洞纵、横向采用剪力撑固定,使内部钢管支架形成整体剪刀撑纵、横向跨距不大于4.5m。搭设支架时,外侧同步搭设施工平台。支架搭设完成,经监理验收合格后开始拼顶板模板,模板接缝严密,防止漏浆。模板加固完毕后,检查模板的平面位置,顶面标高,接缝错缝等,经监理工程师验收后进行下一道工序。
11.3.4混凝土浇筑
(1)第一次浇筑
第一次先浇筑底板及下部50cm的侧墙。混凝土拌和料由混凝土搅拌车运至施工现场,用吊车配合料斗进行浇筑。浇筑时从一端开始分层浇筑,每层不超过30cm,采用插入式振捣棒振捣,振捣棒插入时注意避开钢筋,距离模板5~10cm,振捣点间距不得超过振捣棒作用半径的1.5倍。振捣时插入下层混凝土5~10cm,振捣遵循快插慢拔的原则进行,振动至混凝土不再下沉,表面平坦、泛浆,不再有气泡冒出为止。底板混凝土外露面由人工收面两遍,侧墙处收面后做拉毛处理,混凝土初凝后覆盖土工布并洒水保湿养生不少于7天,防止出现裂缝。
(2)第二次浇筑
砼运抵现场后,用汽车吊作为垂直提升工具将砼入模,混凝土下落时注意伸缩缝隔板的保护,保证沉降缝垂直不变形。浇筑前先在结合面上洒一层水泥浆,浇筑时控制每层浇筑厚度不能超过30cm,两侧同时对称浇筑,施工人员在上部工作平台操作,利用插入式振动棒进行振动,振捣必须仔细,不得出现漏振、过振现象。墙体分层浇筑至顶部后,从一端开始向另一端浇筑顶板,边浇筑边振捣,浇筑完顶面后人工找平并多次收面,浇筑过程中注意保持沉降缝处两侧砼高度保持一致。整个浇筑期间,派专人检查模板支撑及稳定情况,如发现异常情况应及时处理。浇筑完成后,用土工布覆盖洒水养护不少于7天,养生用水严禁采用地下咸水养护。
11.3.5附属工程
附属工程按照设计图纸的尺寸、高程放样后组织施工,严格执行有关施工规范的要求,确保工程质量。
(1)洞口及锥坡铺砌
洞口及锥坡铺砌为M10浆砌片石砌筑,施工时保证石料和砂浆标号,砌筑砂浆饱满,勾凹形缝。
(2)台背回填
箱涵回填砂碎必须在涵身混凝土强度达到设计强度的75%以上时进行对称进行,涵顶回填部分应在顶板混凝土强度达到设计强度的85%以上时进行。
涵洞两侧I区采用4:6砂碎回填,Ⅱ区回填同路基,压路机压实。
回填时涵洞两侧同时对称填筑,分层填筑,分层压实,每层厚度为15cm,靠近涵身位置为防止剧烈的冲击,采用小型压路机压实。回填过程中严格控制填料的含水量,回填压实度保证在95%以上。
11.4检验、验收阶段
11.4.1基底检验
基坑开挖完毕后,进行地基承载力试验,由监理工程师到现场验收,监理工程师验收合格后,进行基础施工。基坑检查项目如下表所示:
开挖基坑检查项目
| 项次 | 检查内容 | 规定值或允许偏差 | 检查方法 |
|---|---|---|---|
| 1 | 平面轴线位置(mm) | 不小于图纸要求 | 用经纬仪测量纵、横向各2点 |
| 2 | 基底标高(mm)土质 | ±50 | 用水准仪测量5~8点 |
| 3 | 平面尺寸(mm) | 不小于图纸尺寸 | 用尺量:长、宽各3处 |
| 4 | 外观质量 | 边线直顺、稳定、外形整齐;基坑支撑可靠、无坍塌、排水畅通 | 现场查看 |
11.4.2基底承载力检测
基坑开挖完成后,立即联系试验检测人员和监理工程师用触探仪对基底进行承载力检测,承载力不得低于120KPa,不足时基底换填砂砾。
11.4.3钢筋验收
钢筋按不同种类、型号、规格分批验收,分类堆存,并立牌标明以便识别。钢筋在钢筋棚内存放,底部垫高不小于50cm,并加以遮盖,避免锈蚀、污染。
11.4.4质量检验
(1)检查项目
涵洞浇筑检查项目
| 项次 | 检查项目 | 规定值或偏差 | 检查方法和频率 |
|---|---|---|---|
| 1 | 混凝土强度(MPa) | 在合格标准内 | 制作试件 |
| 2 | 高度(mm) | +5,-10 | 尺量:检查3个断面 |
| 3 | 宽度(mm) | ±30 | 尺量:检查3个断面 |
| 4 | 顶板厚(mm) | 不小于设计值 | 尺量:检查3-5处 |
| 5 | 侧墙和底板厚(mm) | 不小于设计值 | 尺量:检查3-5处 |
| 6 | 平整度(mm) | 5 | 2m直尺:每10m检查2处×3尺 |
(2)外观检查
(3)混凝土表面平整,棱线顺直,无严重啃边、掉角。
(4)蜂窝、麻面面积不得超过该面面积的0.5%。
12.1.1质量控制方法
(1)质量事前控制
1、请建设单位提供监理依据的文件、资料(施工合同、投标书、施工图纸、放线册、政府有关批文)。
2、在图纸会审前总监理工程师组织监理工程师熟悉设计文件,并对图纸中存在的问题提出书面意见,监理工程师负责组织图纸会审。
3、总监理工程师组织专业监理工程师审查承包单位报送的施工组织设计(方案),签认后交建设单位。
4、监理工程师审查承包单位现场项目质量管理、技术管理和质量保证的组织机构;质量管理、技术管理制度;专职管理人员和特种作业人员的资格证、上岗证。
5、专业监理工程师对分包单位的资质进行审查。分包单位的营业执照、企业资质等级证书、特殊行业施工许可证、国外(境外)企业在国内承包工程许可证;分包单位的业绩;拟分包工程的内容和范围;专职管理人员和特种作业人员的资格证、上岗证。
6、专业监理工程师对承包商报送的测量放线控制成果及保护措施进行检查,符合要求应签认。检查承包单位专职测量人员上岗证书、测量设备检定证书;复核控制桩的校核成果,控制桩的保护措施以及平面控制网、高程控制网和临时水准点的测量成果。
7、对工程所需原材料、半成品及设备的质量控制,对工程所用材料、半成品严格审核其出厂证明、技术合格证或质保证书。对装饰材料、制品等还必须审查其样品后方能订货。对试验材料,必须按规定进行抽检或试验,送样实行监理现场见证。所有设备在安装前必须按其技术说明书进行质量验收。
8、监理工程师及时审查承包单位报送的工程开工报审资料并签署意见。
9、参加由建设单位主持召开的第一次工地会议,介绍项目监理机构、人员分工;建设单位宣布对监理工权,建设单位、承包单位介绍开工前的准备情况,总监对施工准备情况的意见与要求,介绍监理规划的内容、监理程序,制定工地共同遵守的会议制度及其监理过程中各方配合协调事宜。
(2)质量事中控制
1)施工工艺过程质量控制
按照国家规范及实际图纸的要求,采用巡视、旁站、检测、试验等等手段检查施工过程,确保施工质量。严格施工工艺的质量控制。监理工程师对施工工艺过程的各个质量控制点,施工各工序进行跟班巡视和检查,对施工重点部位、关键部位进行旁站监督施工,现场发现质量问题及时要求施工人员整改。
2)工序交接检查
坚持上道工序不经检查验收不准进行下道工序的原则,上道工序完成后,先由承包单位进行自检、专职检,认为合格后再通知现场监理工程师到现场会同检验,检验合格后签署认可方能进行下道工序,其工作流程如下所示。

3)隐蔽工程检查验收
隐蔽工程完成后,先由承包单位自检、专职检,初验合格后填报隐蔽工程报验单。监理、建设单位、承包单位现场联合检验,确认合格后隐蔽。
4)工程质量事故处理
包括质量事故原因、责任分析;质量事故处理措施的商定;批准处理工程质量事故的技术措施或方案;处理措施效果的检查。
5)行使监理质量监督权,下达停工指令。
为保证工程质量,出现下述情况之一者,监理工程师有权指定承包单位立即停工整改。
1、未经检验即进行下道工序作业者。
2、工程质量下降经指出后,未采取有效改正措施,或采取了一定措施,但效果不好,继续作业者。
3、擅自采用未经认可或批准的材料。
4、擅自变更设计图纸的要求。
5、擅自将工程转包。
6、擅自让未经同意的分包单位进场作业者。
7、没有可靠的质量保证措施贸然施工,已出现质量下降征兆者。
8、严格单项工程开工报告和复工报告审批制度。
凡单项工程开工及停工后工程复工,均应遵照如下图所示规定的管理流程。

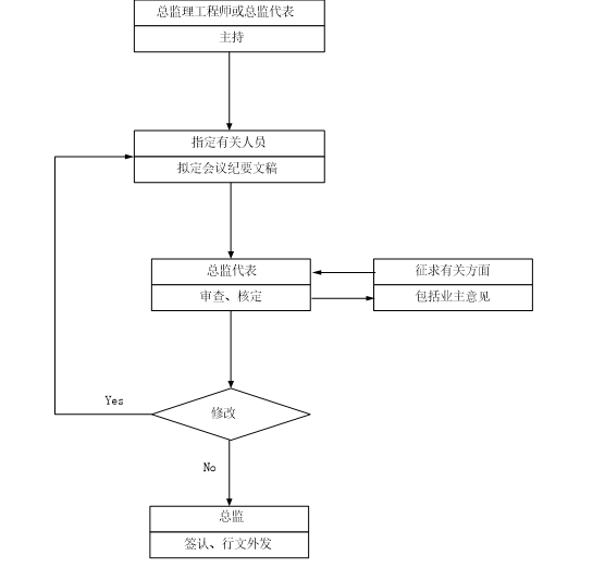
9、组织现场工程例会
现场工程例会由总监理工程师主持。会议将讨论质量及工程的其他事宜,解决施工遇到的各种问题。会后形成会议纪要,其纪要的签发管理流程如下图所示。

10、定期建设单位报告有关工程质量动态情况
现场监理组每月在《监理月报》中向建设单位报告有关工程质量方面的情况。重大质量事故及其它质量方面的重大事宜则及时提出报告。
(3)质量事后控制
1、每一分部分项工程完成后,必须先经施工单位自行检查并进行质量等级的评定,再经监理工程师复验达标并签认后,方可进行后续工程的施工。
2、审核竣工资料,对工程质量进行竣工预验收。工程完工后,由施工单位提出工程验收申请,并提交全部工程技术资料,质量自评报告及与质量有关的技术文件,经监理工程师(总监)审核后,组织有关各方进行初验,对初验提出的问题,要求施工单位限期内进行整改。
3、单位、单项工程竣工验收
初验合格后,建设单位主持竣工验收,监理协助建设单位作好竣工验收、备案工作。
项目竣工验收的流程如下图所示。

4、承担保修期的监理工作时,监理单位应安排监理人员对建设单位提出的工程质量缺陷进行检查和记录,对施工单位进行修复的工程质量进行验收,合格后予以签认。
12.1.2质量控制措施
(1)质量控制的组织措施
1、明确职责分工。监理及施工均明确质量有谁负责,按要求把好质量关。
2、监理公司实行定期到监理工地进行质量检查制度,此工作由公司监理部负责,并征询建设单位、承包商的意见,及时发现和解决存在问题,提高监理水平,加大对质量监理力度,满足建设单位的要求,创造优质工程。
3、督促和审查承包单位建立健全全面质量管理体系,落实质检人员,完善质检措施和制度。
(2)质量控制的技术措施
1、材料设备供应阶段,通过实地考查、现场抽样,审查供应厂家的资质证、准销证、产品合格证等各种手段,确保材料达到设计和规范要求。
2、施工阶段严格事前、事中和事后的质量控制
1)事前控制:监理工程师应熟悉质量控制的技术依据,并对施工现场、施工机械、施工队伍资质、进场材料进行检查验收,审查施工组织设计和施工方案的技术可靠性和质量保证措施。
2)事中控制:监理工程师在质量检查中,用观察、量测、测量、试验等手段按规范要求完成施工工艺过程的质量控制,做好工序交接和隐蔽工程检查验收,做好工程变更、质量事故的处理,完成工程签证,做好协调工作,每月定期向建设单位和本公司报告工程质量动态情况。
3)事后控制:监理工程师要做好单位、单项及项目竣工验收,审核竣工图及其它技术文件资料,整理工程技术文件资料并编目建档。
3、质量控制的经济措施及合同措施
1)监理工程师在质量检查和验收中,严格按合同规定的质量要求,对不符合要求的拒付工程款。
2)根据施工合同,对可能的违约行为提出警告。
3)按合同条款,对造成损失一方进行经济处罚。
12.2进度控制的方法及措施
12.2.1进度控制方法
(1)进度事前控制
进度的事前控制,即为工期预控,主要工作内容有:
1、审批项目实施总进度计划
监理工程师审批承包单位编制的总进度计划;
2、审核承包单位提交的施工进度计划
审核是否符合总工期控制目标的要求;审核施工进度计划与施工方案的协调性和合理性等。
3、审核承包单位提交的施工方案
审核保证工期,充分利用时间的技术组织措施的可行性、合理性。
4、审核承包单位提交的施工总平面图审核施工总平面图与施工方案、施工进度计划的协调性和合理性。
5、制定由建设单位供应材料、设备的需用量及供应时间参数,编制有关材料、设备部分的采供计划。
(2)进度事中控制
1、工程进度的检查
审核承包单位每月、周提交的工程进度报告,审核的要点:
1)计划进度与实际进度的差异。
2)形象进度、实物工程量与工作量指标完成情况的一致性。
3)按合同要求,及时进行工程计量验收。
4)有关进度、计量方面的签证。
进度、计量方面的签证是支付工程进度款、计算索赔、延长工期的重要依据。
5)工程进度的动态管理
实际进度与计划进度发生差异时,分析产生的原因,并提出进度调整的措施和方案,并相应调整施工进度计划及设计、材料设备、资金等进度计划;必要时调整工时目标。
2、需要时组织现场协调会
1)协调总包不能解决影响进度的内、外关系问题。
2)上次协调会执行结果的检查。
3)现场有关重大事宜。
4)在监理月报中向建设单位报告有关工程进度和所采取进度控制措施的执行情况,并提出合理预防由建设单位原因导致的工期及其相关费用索赔的建议。
(3)进度事后控制
当实际进度与滞后于计划进度时,专业监理工程师书面通知承包单位,在分析原因的基础上采取纠偏措施,并监督实施:
1、制定保证总工期不突破的对策措施。
1)技术上:如缩短工艺时间、减少技术间歇期、实行平行流水立体交叉作业等;
2)组织上:如增加作业队数、增加工作人数、工作班次等;
3)经济上:如实行包干资金、提高计件单价、资金水平等;
4)其它配套措施:如改善外部配合条件、改善劳动条件、实施强有力调度等。
2、制定总工期突破后的补救措施。
3、调整相应的施工计划、材料设备、资金供应计划等,在新的条件下组织新的协调和平衡。
12.2.2进度控制措施
(1)进度控制的组织措施
1、落实进度控制的责任,由总监理工程师负责工程进度的整体控制,解决进度控制的重大问题,并指定一个监理工程师做进度控制的具体工作。
2、进度监理工程师根据建设工期总目标要求,编制监理项目的控制进度和各阶段的控制工期,实行项目分解。并审查施工承包单位的单项工程施工进度计划与年、季、月的施工计划,并将结果报总监理工程师和建设单位。
3、建立进度监理协调制度,每周工程例会均进行工程进度目标实现分析,承包单位、监理、建设单位负责进度人员均应到会,每月按时将工程进度情况和进度分析意见报建设单位和本公司。
4、总监理工程师负责为工程进度款签署进度和计量方面的认证意见。
(2)进度控制的技术措施
1、在施工进行阶段监理工程师应认真审核施工进度计划与施工方案的协调性和合理性,审核施工方案能否保证工期,保证“全天侯”施工的技术组织措施的可行性、合理性,审核施工总平面图与施工进度计划的协调性,审核材料、设备的采、供计划的用量和时间参数。
2、审核承包单位每月提交的工程进度报告,检查计划进度与实际进度的差异,当实际进度与计划进度发生差异时,应提出调整措施和方案,技术上采取缩短工艺时间,减少技术间歇,实行平行立体交叉作业,配合相应的组织经济措施补救。
(3)进度控制的经济措施和合同措施
按合同要求及时协调有关各承包单位的进度,以确保项目的形象进度要求,确保合同工期的实现,执行对工期提前或拖后者的奖罚制度。
12.3投资控制的方法及措施
12.3.1投资控制的方法
(1)投资事前控制
投资事前控制,监理机构依据施工合同有关条款、施工图,对工程项目造价对策,目标进行工程风险预测,并采取相应的防范性对微量,尽量减少承包单位提出索赔的可能。
1、熟悉设计图纸、设计要求、标底标书,分析合同价构成因素,明确工程费用最易突破的部分和环节,从而明确投资控制的重点。
2、预测工程风险及可能发生索赔的诱因,制定防范对策,减少向建设单位索赔的发生。
3、按合同规定的条件,如期提交施工现场,使其能如期开工、正常施工、连续施工,避免违约造成索赔条件。
4、按合同要求,如期、如质、如量地供应由建设单位负责的材料、设备到现场,避免违约造成索赔条件。
5、按合同要求,及时提供设计图纸等技术资料,避免违约造成索赔条件。
(2)投资事中控制
1、按合同规定,及时答复承包单位提出的问题及配合要求,避免造成违约和对方索赔的条件。
2、施工中主动搞好设计、材料、设备、土建、安装及其它外部协调、配合,避免造成对方索赔的条件。
3、监理工程师应从造价、功能要求、质量、工期等方面审查工程变更方案,并宣布工程变更实施前与建设单位、承包单位协商确定工程变更的价款。
4、严格经费签证。凡涉及经济费用支出的停窝工签证、用工签证、使用机械签证、材料代用和材料调价等的签证,由项目总监理工程师最后核签后方有效。
5、按合同规定,及时对已完工程计量进行计量。
6、监督承包单位按合同规定,及时申报工程量,监理工程师及时审批进度款,避免延误工期违约造成索赔。
7、完善价格信息制度,及时掌握国家调价的范围和幅度。
8、检查、监督承包单位执行合同情况,使其全面履约。
9、每月定期向建设单位报告工程投资动态情况。
10、定期、不定期地进行工程费用超支分析,并提出控制工程费用突破的方案和措施。
(3)投资事后控制
1、审核承包单位提交的工程结算书。
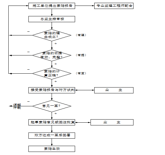
2、公正处理承包单位提出的索赔,其处理程序如附图所示。
12.3.2投资控制措施
(1)投资控制的组织措施
建立健全监理组织,完善职责分工及有关制度,落实投资控制的责任。
1、由驻现场监理工程师通过工程计量支付来控制合同价款,工程承包方按约定的时间向监理工程师提交已完工工程报告,监理工程师核实已完工程数量,并由承包方、监理工程师共同参与计量,承包方无正当理由不参与计量,由监理工程师自行进行,计量仍然有效,作为工程价款支付依据。
2、由驻现场监理工程师核实签字后,须经总监理工程师审核签字,才作为有效的凭证。其管理流程如附图所示。
3、项目监理部每月应以规范的格式向建设单位和监理公司报告工程投资情况。
(2)投资控制的技术措施
1、材料设备供应阶段,监理工程师根据建设单位对材料的要求,做好价格咨询工作,帮助业主选择材料品种,合理确定生产供应厂家。
2、施工阶段,监理工程师督促施工单位采用先进合理的施工组织设计和施工方案,合理编排工期,避免不必要的赶工费用。
(3)投资控制的经济措施
1、驻现场监理工程师每月定期进行计划费用与实际费用的比较分析,并提出控制工程费用突破的方案和措施。经总监理工程师审查签字后,报建设单位。
2、驻现场监理工程师应预测和防范可能发生的索赔,及时向建设单位和上级报告可能发生的索赔,并制定对策,减少向建设单位索赔的发生。
(4)投资控制的合同措施
1、监理方应协助建设单位如期向承包方提供施工现场,如期、保质、保量供应由建设单位负责的材料、设备,及时提供设计图纸等技术资料,不违约,不造成索赔条件。
2、监理方应按合同条款经审核支付工程款,但防止过早、过量的现金支付。
12.4合同管理的方法及措施
12.4.1.合同分析
监理工程师根据建设单位提供的合同及施工单位提供的分包合同,对每个合同的条款内容进行分析。掌握合同履行的要点、难点,考察合同实现的可能性、可能发生纠纷的地方。做到事事在先、胸有成竹。
12.4.2合同跟踪
施工过程中,监理工程师将时刻关注合同履行情况,将实际情况与合同规定的内容相对照,找出偏差并采取纠正措施。对合同履行情况进行统计分析,为实现项目的总目标服务。
1、在工程工期方面:按合同规定,要求承包方在开工前提出包括分月、分段进度计划的施工总进度计划,并加以审核;并照分月、分段进度计划进行实际检查,对影响进度计划的因素进行分析,找出原因,及时主动解决,监理工程师报建设单位同意修改进度计划时,审批承包方修收的进度计划,确认竣工日期的延误。
2、在工程质量管理方面:检验工程使用材料、设备质量;检验工程使用的半成品及构件质量;按合同规定的规范、规程,监督检验施工质量;按合同规定程序,验收隐蔽工程中需要的中间验收工程的质量,验收单项竣工工程和全部竣工工程的质量等。
3、在工程费用管理方面,严格进行合同约定的价款管理;当出现合同约定的情况时,对合同价款进行调整;对预付工程款进行管理,包括批准和扣还;对工程量进行核实确认,进行工程款的结算和支付;对变更价款进行确定;对施工中涉及的其他费用,如安全施工方面的费用,专利技术等涉及的费用,根据合同条款及有关规定处理;办理竣工结算;对保修金进行管理等。
4、变更处理
1)承包单位提出工程变更的处理
承包单位提出工程变更的处理流程,如附图所示。
2)建设单位提出工程变更的处理
由建设单位原因提出的工程变更的处理流程,如附图所示
12.4.3监控措施
1、监督合同各方履行合同条款中规定的义务。建设单位为施工单位提供必要的技术图纸、政府批文、场地、资金等;施工单位按合同条款积极施工。
2、监督施工单位做好相关资料的整理,做好隐蔽签证,如实记录施工全貌。同时,监理工程师将独立做好日志及其它记录工作。当发生合同纠纷时,监理工程师将以详实的资料对工程作出客观的评价。
3、施工单位违反合同条款或偏离合同要求时,监理工程师将采取必要手段实行纠偏,采取下达指令、质量否决,建议建设单位停付、缓付预付款、直至停工等各种经济、组织手段。对技术原因引起的偏差,监理工程师将给予技术上的指导,帮助施工单位克服困难。
4、监理工程师组织各方定期召开会议,协调各方关系,分析存在问题,避免产生不必要的纠纷与偏差。
5、把好工程变更关,按正确的程序处理工程变更,当涉及合同条款的变更或需增补协议时,监理工程师将及时协调合同各方重新取得协议,减少不必要的纠纷。
12.5文明施工与安全的方法及措施
12.5.1加强管理建立健全管理体系
1、在监理中组织可靠的文明施工和安全管理的组织保证体系,树立全员、全面、全过程的管理思想,把文明施工与安全控制引入正常的监理工作中去。为此工程监理中须成立文明施工与安全控制监理小组。总监兼任组长,总监代表为副组长,其余监理工程师、监理员为组员,层层落实。
2、审查承包单位施工组织设计对文明施工与安全控制措施编制情况,督促承包单位建立健全文明施工与安全控制的岗位责任制,检查组织措施、技术措施具体落实情况,定期检查考评。
12.5.2严格落实文明施工各项内容及措施
1、现场必须按要求设围栏或护墙,保证全封闭施工;现场必须悬挂建筑施工许可证牌;危险作业挂安全标志。
2、按施工平面布置现场,图表、标语、横幅齐全整齐,杂物堆放整洁;电线拉设符合规范;道路、排水畅通。
3、材料、成品、半成品、机械设备按要求堆放整齐,且位置与施工平面相符;施工机械进场必须经过安全检查;搅拌机、施工机具应搭设临时操作棚;施工机具使用完工后,及时清洗干净,堆入库;操作人员持证上岗。
4、工地环境卫生,包括尘埃噪声,厕所、食堂及饮用水卫生,灭害措施,建筑及生活垃圾处理均应按要求达到考评标准。
5、加强治安与保卫,落实文明施工教育制度,加强已完工工程的成品保护,加强员工宿舍管理。
6、加强消防措施和明火管理措施,宿舍、工棚、厨房、仓库应设置灭火器,现场应配置灭火水管及配件。采购、保管易燃易爆材料物品应按规定办理。
12.5.3严格落实安全管理各项措施
1、建立安全责任制,制定安全生产指标,加强各级安全教育,完善施工组织设计中的安全措施,分部(分项)工程均应有书面和口头和技术交底,工人均应经安全培训,特殊工种需持上岗证。
2、坚持不定期安全检查制度和建立班前安全活动,并做好记录;对工伤事故做好调查分析,做出报告,建立档案;按要求在现场设置安全标语和安全色标;大型构件、材料按要求堆放整齐,施工道路畅通。
3、施工用电要符合标准,工程与临近高压线的距离及防护要达到要求;支线架设、低压干线架设、开关箱的设置及电熔丝的安装选用均应达到标准。
4、各种施工机具如电锯、平刨、手持电动工具、钢筋机械、电焊机、搅拌机、乙炔发生器、气瓶、潜水泵等等的防护、使用均应达到规程要求和标准。
12.6监理旁站内容和要求
12.6.1旁站工序
对工程中的土方换填、砼浇筑等关键工序实施旁站监理。
12.6.2旁站要求
1、检查施工单位管理人员的到位情况。
2、检查基坑开挖、路基地基承载力是否达到方案或设计及工程建设强制性标准要求。
3、检查施工工艺是否与方案、设计要求一致。
4、检查所用材料是否与设计、取样试验材料相同。
5、箱涵基坑支护变形监测。
6、检查施工条件是否满足和保证施工要求。
7、施工过程中发生的质量问题,承包单位应对监理工程师在旁站过程中指出的问题立即进行纠正。否则,监理工程师有权现场口头暂停承包单位对该部位的施工,并在事后以书面形式确认。
未注明转载的内容视为作者原创,并依据CC BY-NC-SA 4.0许可协议发布,允许非商业性使用。对于转发或引用内容,请确保注明来源!